时间:2023-03-20 10:53
人气:
作者:admin
近期,小鹏P7i、理想L7、飞帆R7/F7等多款搭载激光雷达的新车型相继上市;在工信部最新公布的新车名单中,还有小鹏G6、蔚来ET5旅行版、全新问界M5、腾势N7、极狐阿尔法S6等,都将搭载激光雷达。
回想去年上半年,当激光雷达刚刚开始在量产车型上大规模应用时,业界对激光雷达的安装位置产生了争议。转眼过去一年,国产搭载激光雷达的车型年交付量已突破10万台。同时,各公司采用的方案也逐渐固定下来,基本上分为两大派,一派安装在前挡风玻璃上方的车顶,一派安装在汽车前保险杠或大灯下方。
在通用汽车近日公布的下一代Ultra Cruise自动驾驶系统中,概念图显示激光雷达将安装在挡风玻璃内部,很可能在后视镜的位置。雷达安装在挡风玻璃后方将成为自动驾驶传感器的量产解决方案,。
激光雷达安装在挡风玻璃后面的最佳方案吗?
从目前部分搭载激光雷达车型的车主反馈来看,现有的两种主流方案其实各有比较突出的优缺点。比如蔚来ET7、理想L9等车型,激光雷达都放置在挡风玻璃上方。主要优点是视野更开阔,甚至可以识别对面车道的车辆。识别范围非常大。同时,也存在一些缺点,比如在低速场景下,对一些低矮或较短的道路障碍物的识别可能存在盲区。
另一方面,由于车身突出,会对外观的美观和高速行驶风噪产生一定的影响。比如蔚来ET7的车顶在高速路况下会产生一些不可忽略的风噪。也有一些车主表示,在静静停车的情况下,激光雷达工作时能听到一些细微的电机声音。比如,蔚来上面的图达通falcon采用旋转镜结构,运行时高速旋转。如果隔音做得不好,噪音可能会传到驾驶舱。
将激光雷达安装在汽车前保险杠或大灯下方时,用户最大的诟病就是碰擦概率高,维护成本高。在日常驾驶过程中,即使是轻微的碰撞也可能会损坏位于前保险杠上的激光雷达,这也是最容易发生碰撞的区域。此前,有车主曝光了更换小鹏P5激光雷达的费用。一颗激光雷达的价格高达9000元,传感器标定等工序需要重新做,工时成本不是小数目。
当然,一般来说,在车头两侧加装激光雷达也有一定的实用优势,比如对近距离低障碍物的识别更准确,对车头识别的视野更广等。
在损坏概率和识别范围方面,安装在挡风玻璃后方的激光雷达或许能够平衡上述两种方案的优缺点。首次安装在车内,激光雷达受外力损坏的概率会更小;同时,与安装在车顶的激光雷达相比,高度仅略低,视野损失不大;另外,激光雷达安装在车外更容易被灰尘、泥土等阻挡,但安装在挡风玻璃上后,可以及时使用雨刷清理污渍。
不过,也可以想象,激光雷达在挡风玻璃后面还会出现其他问题,包括电机噪音、散热等,或许这些问题可以通过迭代激光雷达的技术路线来解决,比如使用纯固态激光雷达。
实际应用问题,已有解决方案
如果通用 Ultra Cruise的激光雷达安装位置真的那么好,之前车企为什么不尝试使用呢?主要原因可能是前挡风玻璃的信号通过问题。汽车前挡风玻璃通常为夹层玻璃,包括外层玻璃板、热塑性夹层和内层玻璃板。当多功能摄像头或激光雷达安装在内层玻璃板的内表面时,信号数据需要穿过外层玻璃板,热塑性夹层和内层玻璃板才可以被多功能摄像头或激光雷达接收,因为玻璃本体和热塑性夹层(如PVB)都会吸收红外线。对于905nm激光雷达、1550nm激光雷达和780-1200nm红外摄像头,传统的夹层玻璃会阻碍激光雷达和红外摄像头的信号数据传输,从而影响激光雷达和红外摄像头的正常工作,实际适配效果并不好。
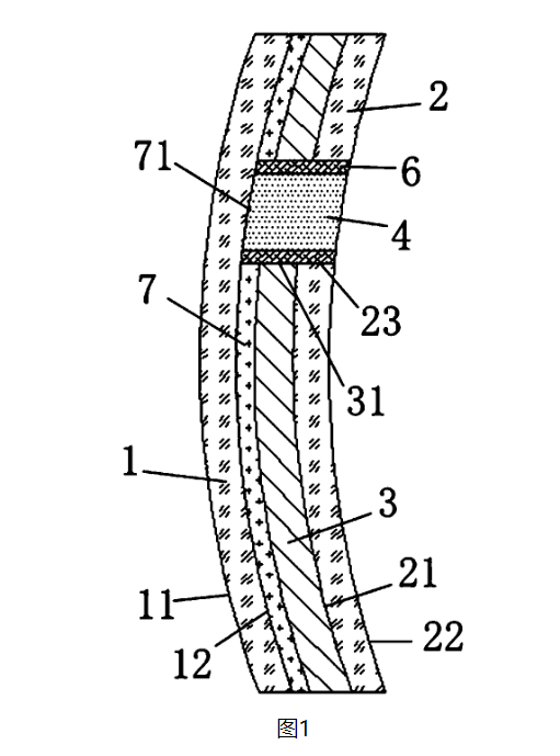
不过,这个问题似乎有解决办法。近年来,福耀玻璃就开发了满足激光雷达信号透过率要求的窗玻璃,其制备方法申请了多项专利。其中之一是优化激光雷达等传感器位置的红外通过率。下图为车窗夹层玻璃示意图。外玻璃板1选用超白浮法玻璃,对波长780~1650nm的红外线的透过率大于或等于90%,使整体夹层玻璃对激光雷达或红外摄像头的信号数据具有90%以上的高透过率。

来源:国家专利检索,公开号CN115519981A
内玻璃板2上至少开有一个安装通孔23,安装通孔23 内固定有红外增透填充块4。红外增透填充块4对780-1650nm波长红外线的透过率与大于等于90%,最高可达96%以上。激光雷达和/或红外摄像头安装在第四面,即图22所示位置,并对准红外线增透填充块4设置,避免内玻璃板2阻碍激光雷达和红外摄像头的数据传输,可以提高激光雷达和红外摄像头的精度和探测范围,可以保持可视区域的优良可视性和可加工性,大大减少玻璃弯曲过程中光学畸变和贴合度下降的问题。
不过这项技术能否量产还不得而知,但相信随着市场需求的推进,在通用Ultra Cruise能够大规模使用之后,这种激光雷达加装方案或许也会得到更多汽车制造商的选择。
审核编辑 :李倩