时间:2021-04-30 12:14
人气:
作者:admin
在数字传感器信号处理(DSSP)领域,传感器补偿已在该技术顶级制造商的设计人员心中铺平了道路。高性能计算引擎的发明使这成为可能。通过这种方式,现在以DSSP原理采用集成电路(IC),从而取得了更好的进步。本文讨论了DSSP架构以及如何在MAX1460传感器信号调理器上使用它。
MEMS压力传感器的特性
当今为汽车市场生产的大多数MEMS压力传感器均包含一个四电阻惠斯通电桥,该四电阻惠斯通电桥采用批量蚀刻微加工技术在单个整体式芯片上制成。集成在传感器芯片中的压阻元件沿着压力传感膜片的外围位于适合应变测量的位置(见图1)。这些传感器是便宜的,因为它们被作为集成电路处理在可能包含数百到数千个传感元件的晶片上。

在桥结构中,对角相对的支腿的阻力根据压力引起的机械变形而在相同方向上均等地变化。随着一组在压力下对角相对的支腿的阻力增加,另一组的阻力减小,反之亦然。跨过桥的两个相对角施加电压或电流形式的桥激励。这些端子在图1中显示为+ Exc和-Exc,通常称为“励磁输入”或“桥驱动输入”。
电阻(即压力)的任何变化都将检测为电桥其他两个角(图1中的+ Vout和-Vout)之间的电压差,这些电压差通常称为“电桥输出”或“信号输出”。 ”不幸的是,对于硅压阻传感器,该电压差很小(几十毫伏)。此外,未补偿传感器的全跨度输出(FSO)可能表现出对温度的强烈非线性依赖性,较大的初始偏移量(高达FSO的100%或更高)以及偏移量随温度的强烈漂移。FSO定义为对应于最大和最小施加压力的传感器输出之差。因此,必须在使用传感器之前对其进行补偿。
模拟传感器信号处理(ASSP)
集成ASSP的第一代IC通常只包含差分至单端放大器。传感器的所有性能特性都得到了放大和传递,使传感器制造商承担起建立传感器性能的重任。通常,将压力传感器信号和温度信号提供给电子控制单元(ECU),该电子控制单元使用查找表来获得合理的压力估计值。
这些架构在发动机管理模块中用于处理代表大气气压(BAP)和歧管气压(MAP)的数据。这些设计在模拟域中执行校准和补偿。为了存储特定于传感器的数据,使用了模拟“存储器”组件,例如电位计,分立电阻器或电容器(其中一些取决于温度)以及激光微调电阻器。这种方法的主要问题如下:
数字传感器信号处理(DSSP)
第三代DSSP架构风格的特征在于全数字补偿和纠错方案。几何形状极细的混合信号CMOS IC技术已将复杂的数字信号处理器(DSP)集成到传感器补偿器IC中。DSP专为执行传感器补偿计算而设计,使传感器输出能够实现传感器固有的所有精度。从理论上讲,将一阶和二阶温度效应对全跨度输出(FSO)和失调进行线性化处理可使整体线性度相对于温度的变化优于传感器本身的线性度。
作为背景,请考虑以下几个关键因素对于成功使第三波架构成功至关重要:
另外,请考虑以下有关数字信号处理的一般规则:

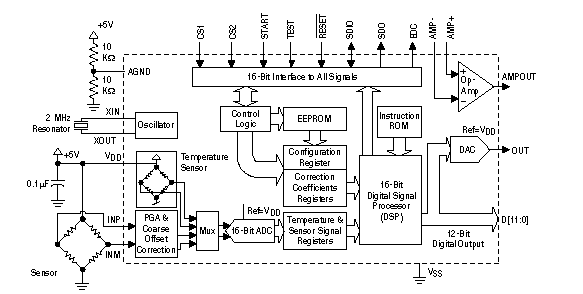
现在,一种新型器件MAX1460可通过使用公式1来执行补偿压力传感器所需的算术运算。因为该器件可以对数字化的压力传感器信号执行这些算术运算(使用其板载处理器)借助其板载ADC,它被称为智能ADC。参见上面的图2。
结论
本文介绍了传感器压力的一些原理,它的历史和在行业中的使用。还讨论了模拟传感器信号处理(ASSP)和数字传感器信号处理(DSSP),但由于它是涉及传感器跨度和偏移补偿的体系结构,因此更加关注DSSP。
编辑:hfy