时间:2020-10-11 09:27
人气:
作者:admin
有时,在雷暴天气测量我们与闪电之间的距离非常有用。通过这个测量,可以了解雷暴是正在接近还是正在远离。计算可以通过手动完成,也可以使用天文台表进行,但是本文希望设计一个简单的电子电路来实现测量。
打雷和闪电
打雷是由闪电引起的强烈噪声;视其性质和与观察者的距离而定,闪电可表现为锐利而有力的打击声或低沉而长时间的轰鸣声。打雷和闪电发生在同一位置,但是光和声音的速度非常不同,因此,这两种事件是在不同的时间感觉到,雷声和闪电由于其速度不同,因此不会同时感觉到。
由于光的传播速度远快于声音,因此雷鸣总是发生在电闪之后。以下是这两者的大小:
•光的速度为每秒299,792,458米;
•声音在空气中的速度仅为每秒331米。
这两个速度之间存在很大差异。无论观察者相距有多远,都可以立即看到闪电的光芒。可以通过以下方式手动计算雷暴的距离:看到闪电后,计算直到听到雷声的秒数。将所计算的秒数除以5可获得英里数,或除以3可获得公里数。例如,如果从闪电到雷声计数为8秒,则雷暴距离为1.6英里或2.6公里。
逻辑图如图2的示意图所示,本系统由以下逻辑部分组成:
•中央单元,配有微控制器及其固件、LCD显示屏,以及模拟闪电和雷声的按钮。这个单元是完全独立的,并且工作良好。
•外部传感器是电路的可选部分。它们可以使闪电和雷声的检测过程自动化。它们必须采用电子元器件设计。如果想要更多的独立性而不怕更加复杂,也可自己设计它们。

图2:系统流程图。
主系统
主系统是一个独立的电路,无需使用外部附件即可工作。这是测量雷暴距离的最简单的解决方案。它可以手动工作,实际上,当闪电发生时必须按第一个按钮,当听到雷声时必须按第二个按钮。系统计算两次按压之间的时间,然后计算雷暴的距离。图3给出了电气原理图。

图3:雷暴计算器完全工作的基本电气原理图。
系统的中央大脑是16F1826微控制器,但也可以使用任何类型的MCU。它的振荡是由20MHz晶振和两个22pF陶瓷电容器所产生的。当看到天空中的闪电时,必须按下按钮“LIGHTNING”。当听到雷声时,必须按下按钮“THUNDERS”。PORTA0和PORTA1数字输入端口通过两个下拉电阻(R1和R2)接地,从而确保在按钮未按下时保持低电平。如果输入信号很短或者不规则,则C3和C4电解电容器可以对它进行平滑(请参见图4)。

图4:C3和C4对输入信号进行去抖动。
然后,MCU负责计算雷暴的距离并将结果显示在LCD上。它仅使用4根数据线连接到微控制器。RV1电位器(或微调器)可以设置正确的显示屏对比度,因此不能省略。J1和J2是外部连接,用于自动执行闪电和雷声检测过程。可以将电路和传感器连接到这些端子(请参见下文)。按下“RESET”按钮,可以重新启动整个过程。
固件和流程图
微控制器的固件使用Proton编译器以Basic语言进行编写。使用PIC16F1826不需要许可证密钥,可以免费下载和编译。显然,可以使用任何语言和任何编译器。如图5所示,固件分为几个部分。第一部分包含所用器件的声明、符号、变量和端口设置。第二部分等待闪电,检查PORTA.0。显示屏上对此显示一条提醒信息。第三部分等待雷声,计算每经过的十分之一秒并将其显示在显示屏上。最后一部分进行雷暴距离的计算(以米为单位),并在显示屏上将其显示出来。

图5:固件流程图。
应用
这个设备使用起来非常简单。下雨时,打开电路并等待闪电。“WaitForLightn”信息出现在显示屏上。发生这种情况时,立即按下连接到PORTA.0的标有“LIGHTNING”的按钮。系统以十分之一秒开始计时,直到按下第二个带有“THUNDERS”标记、与雷声一致的连接到PORTA.1的按钮。此时计数停止,显示屏上显示以米为单位的雷暴距离(见图6)。

图6:电路的工作顺序。
主系统电子元件
以下列出了构建主系统所用的电子元器件。电阻的功耗可以为1/2W或1/4W。
•R1-R2-R3:10kΩ电阻
•RV1:10kΩ电位器
•C1-C2:22pF陶瓷电容
•C3-C4:22μF/16V电解电容
•3个常开按钮
•LCD1:16x2LCD显示屏
•U1:PIC16F1826MCU
•X1:20MHz晶振
如何自动执行检测过程
主系统工作良好,但是在发生闪电和打雷时要按下按钮。无论如何,手动操作是最好的,因为它可以避免自动传感器错误检测,并且操作员可以选择执行方法。但是,要实现自动检测,就必须设计一个闪电探测器和一个雷声探测器。前者可使用光传感器,后者可使用驻极体麦克风。下面来看第一个通用原理图。以下所述解决方案只是一般示例,可以根据需要采用任何想法。
闪电传感器
这个设备必须要能“捕获”闪电所发的光线,将其放大并将该信号转换为0V至5V之间的数字电压(参见图7)。微控制器必须对它进行读取。传感器必须非常快,因此光敏电阻不好——可以使用光电二极管。电路的增益取决于以下关系式:
G=1+(R11/R10)
可以通过选择不同的电阻值来改变增益。运算放大器的增益必须很高。由于输出信号必须是数字信号,因此必须达到饱和。

图7:闪电探测器的电气原理图。
以下列出了构建闪电传感器所用的电子元器件。
•R10:1kΩ电阻
•R11:470kΩ电阻
•R12-R13:470Ω电阻
•R14:220kΩ电阻
•C6-C7:1μF/16V电解电容
•D1:光电二极管
•U3:运算放大器LT1077或同等产品
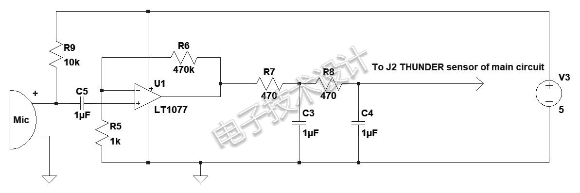
雷声传感器
这个设备必须要能“听到”雷声,将其放大并将该信号转换为0V至5V之间的数字电压。同样,微控制器必须对它进行读取。如图8所示,该电路使用驻极体麦克风和运算放大器来放大该信号。这种麦克风必须通过电阻供电才能正常工作。该电路以一个低通滤波器结束,从而切断300Hz以上的信号。如果不喜欢低通滤波器的响应,则可以对其进行修改或删除。电路的增益取决于以下关系式:
G=1+(R6/R5)
可以通过选择不同的电阻值来改变增益。同样,在这种情况下,运算放大器的增益必须很高。由于输出信号必须是数字信号,因此必须达到饱和。

图8:雷电探测器的电气原理图。
以下列出了构建雷声传感器所用的电子元器件:
•R5:1kΩ电阻
•R6:470kΩ电阻
•R7-R8:470Ω电阻
•R9:10kΩ电阻
•C3-C4-C5:1μF/16V电解电容
•MIC:驻极体麦克风
•U31:运算放大器LT1077或同等产品
打雷是闪电引起的噪声。它的频率很低,但非常有力。正如在图9的图表中所看到的那样,滤波器可滤除高频。

图9:雷声的频谱分析。
总结
这个设备使用起来非常简单。由于可靠性的关系,我们更喜欢手动使用。为了获得最佳效果,可将麦克风和光电二极管指向天空。知道雷暴的距离非常有用——如果有雷暴到来,我们就可以去往某个避难所,从而最大程度地降低事故风险。通常,雷暴非常危险。为了保护电子元器件和为系统提供美观的设计,可以将该设备存放在塑料盒中。如果使用自动传感器,则运算放大器只能用相应的型号替代。
(原文刊登于EDN姐妹网站EEWeb)
编辑:hfy