全球最实用的IT互联网信息网站!
AI人工智能P2P分享&下载搜索网页发布信息网站地图
英飞凌对英诺赛科提起追加诉讼,并向美国国际
阅读全文2024-07-29
喜讯!佰维存储荣获“2024最具价值科创板上市企
HBM3E量产后,第六代HBM4要来了!
阅读全文2024-07-28
三星HBM3已经通过英伟达的适用性测试
阅读全文2024-07-26
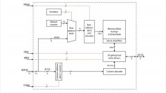
DRAM芯片的基本结构
DRAM的内部结构和工作原理
MK米客方德TF卡:高速存储与低功耗设计的最佳选
企业级QLC SSD普及元年,这家国产公司用前瞻性技
苹果将在iPhone中运用QLC NAND闪存技术
阅读全文2024-07-25
在医疗行业中,SD NAND产品如何满足特定的存储需
阅读全文2024-07-24
DDR内存市场现状和未来发展
忆联如何以技术创新推动存储产业变革
TF卡速度评测-使用AS SSD Benchmark
一个5.25英寸的光驱位竟神奇地能装入8块
CPU | 内存 | 硬盘 | 显卡 | 显示器 | 主板 | 电源 | 键鼠 | 网站地图
Copyright © 2025-2035 诺佳网 版权所有 备案号:赣ICP备2025066733号 本站资料均来源互联网收集整理,作品版权归作者所有,如果侵犯了您的版权,请跟我们联系。