全球最实用的IT互联网站!
人工智能P2P分享搜索全网发布信息网站地图标签大全
七部委力促电信今年城市用户均以8M光纤接入
阅读全文2010-04-09
中国LTE 70%胜算入选全球4G标准
物联网产业化瓶颈
LabVIEW无线传感器网络(WSN)模块先锋的介绍
阅读全文2010-04-08
Wi-Fi和蓝牙在电子书上的应用发展呈升高趋势
FIC8120和PoE的IP-Camera设计
阅读全文2010-04-07
中国推动物联网产业发展的四大措施
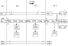
列车互联网络无线传输DS-CDMA系统设计
R&S的LTE测试成为首家通过GCF论坛认证
功率因数校正: 电网分析用便携式测量设备
无线连接Wi-Fi设备将帮助您解决三大设计
6G的下一步:太赫兹技术新进展
摩尔斯微电子与移远通信合作,将Wi-Fi
移远通信携手MediaTek在悉尼科技大学开展
CPU | 内存 | 硬盘 | 显卡 | 显示器 | 主板 | 电源 | 键鼠 | 网站地图
Copyright © 2025-2035 诺佳网 版权所有 备案号:赣ICP备2025066733号 本站资料均来源互联网收集整理,作品版权归作者所有,如果侵犯了您的版权,请跟我们联系。