时间:2023-05-23 17:25
人气:
作者:admin
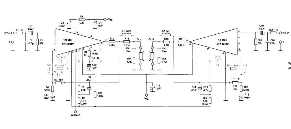
这款家用立体声音频放大器配备STK4241V,是一款厚膜混合IC,AF功率放大器(分体式电源)(最小120W+120W,THD=0.08%)。STK4241V具有以下一些功能:
内置静音电路,隔离所有类型的冲击噪声
电流镜电路,总谐波失真低至0.08%
对于这款2x120W家用立体声功率音频放大器,我们使用单芯片STK4241V为每个通道获得高达120W的功率。
STK4241V音频放大器电路图


放大器家用立体声组件
R6,R22–560欧姆/0.125WR1,R24–1K/0.125WR9,R10–1K/0.5WR7,R18–4.7K/0.25WR8,R19–4.7K/0.5KR2,R5,R21,R23–56K/0.125W
C7,C17–3pF陶瓷C2,C20–470pF陶瓷
50VC6,C16–1nF100VC11,C12–100nF100VC1,C19–2.2uF50VC5,C15–1uF63V
C4,C10,C13–10uF63V
C9,
C14–47uF63VC8,C18–100uF16V