时间:2020-04-14 09:44
人气:
作者:admin
电子管收音机和半导体收音机比较,最大的优点是音质明显好于半导体收音机!其次就是稳重大方,同时具有古典美的气质!还有就是电子管收音机的历史远远大于半导体收音机,因此在收藏方面比半导体有一定的优势!
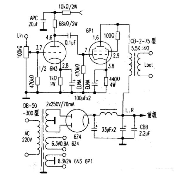
以极低价格(每台15元)从二手电子市场淘得相同型号老式电子管收音机旧机芯2台,经过检查,1只电源变压器和2只输出变压器都是好的,2个6P1电子管也能正常工作。电源变压器为上无二十七厂型号为DB一50—300的50WP:品。上无厂的变压器质量不容置疑,技术指标留有余地。在电路中采取适当措施,一个电源变压器完全可以用于双声道长期工作而不损坏。
输出变压器为该厂的CB-2-75型。输出功率2W。虽然该输出变压器没有采用现代的分层分段特殊绕制工艺。但听感良好。
因为原机的电压放大管6N2音质不如人意,笔者用北京牌16N3J电子管作电压放大,该管高低频响好,声音有韵味。为进一步改善音质,功放管6P1采用三极管接法,并可适当提高栅负压,即加大阴极电阻值,由原来的300Ω3W改为400Ω4W(用2只220Ω2W电阻串联),这样不但提高了功率管驱动电压幅度和效率,且功率管工作电流也减小了,一个50W的电源变压器和一支624整流管就可以用于双声道长时间工作不过于趟怀,一举数得。
本机耦合电容器双声道仅有2个。选用不同品牌会有不同的音色表现。应尽量选用优质品。滤波电容利用麒机“天和”牌国产电容,前级滤波遐耦选用CBB薄膜电容。音色靓。阴极旁路电容用日本ELNA金字音频专用电解电容。
扼流圈可用一个220V10W的优质龟源变压器代替,注意铁芯应改为单向插法。
由于本放大器输出功率较小。故选用灵敏度商、阻抗为4Ω的纸盆全频扬声器单元音箱放音,有很好的听感和音乐表现力。

电子管一般设计寿命是2000小时的样子(特别的管子有5000小时到10000小时的),可实际中电子管超过2000小时以后很多不复是坏了(一般说的坏是:没有声音出了),只是说它的性能达不到设计标准了,等到实际管子没有声音出的时候,可能已经达到3000小时或者制更多;这其中前级的放大管实际的使用寿命还要长一些。
每天用5小时,那一年多换一次管子吧;但这只是你为了达到实际设计性百能换的管子,换下的管子还可以使用不少日子。举个最简单的例子:老的显像管(显像管也是电子管的一种)电视机,实际中的使用寿度命10年都不止吧!
小编推荐阅读:电子管收音机收不到台什么原因_快速检修电子管收音机