时间:2018-05-16 16:00
人气:
作者:admin
尼康最近各类专利不断,大部分都是围绕无反相机或者固定镜头相机的。最近尼康公布了一个用于曲面传感器的全画幅20mm f/2镜头专利。鉴于尼康之前也有一些关于曲面传感器的专利,而且索尼也推出过类似的传感器原型,所以未来尼康的确有可能会推出曲面传感器相机。

尼康镜头专利
焦距:20mm
光圈:2.0
图像高度:21.1毫米
半视角:53.6
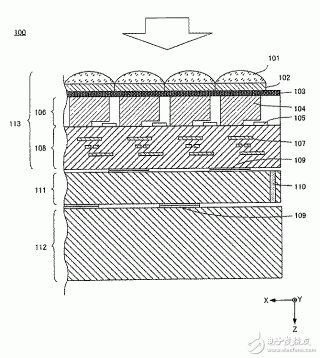
另外,尼康还公布了一个传感器专利(P2018-67965A),是具有双快门模式的堆栈式图像传感器(BSI),这个传感器具有更低的噪点,并且具有全局快门可以保证更小的失真(视频)。这个传感器技术可以提升相机的图像拍摄和视频拍摄性能。

尼康新传感器专利
尼康一直再探索新传感器,不管是传统传感器还是曲面传感器。曲面传感器的作用,就是可以更好的消除镜头的慧差,特别适合做成小尺寸的固定镜头相机。尼康目前的主力都放在了单反上,未来必然要考虑推出其他机型,所以我们也很期待尼康的这些专利能够早日实现。