本文介绍了FLI7515和FLI7525主要特性,方框图,以及支持100/120 Hz FRC 和和3DTV的EU/US DTT + 有线
iDTV应用框图.ST
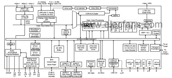
公司的FLI7515和FLI7525是支持120 Hz FRC和3DTV的H.264 iDTV 系统级
芯片(SoC).集成了用于高清
视频译码(H.264/VC-1/MPEG2/)的450MHz ST231,用于多路
音频译码的(MPEG-1/2, MP3,WMA等)的450MHz 双ST231,提供1700+ DMIPS性能运行在
Linux和OS21的450MHz的双ST40
CPU,完全支持
HDMI 1.4a 强制3DTV输入格式,主要应用在支持120 Hz 3DTV的高性能主流iDTV,以及支持DVB/ATSC/DTMB/I
SDB的DTV.
FLI7515/25应用:
■ Connec
ted, high-pe
rformance, and mainstream iD
TVs with support for 120 Hz 3DTVs with MC
Ti■ Multi-region, single footprint for DVB/ATSC/DTMB/ISDB

图1.FLI7515/25方框图

图2.FLI7515– 100/120 Hz FRC :EU/US DTT + 有线iDTV应用框图

图3.FLI7525– 100/120 Hz FRC和3DTV :EU/US DTT + 有线iDTV应用框图