时间:2010-03-12 17:03
人气:
作者:admin
LM567通用音调译码器集成电路工作原理及应用
567为通用音调译码器,当输入信号于通带内时提供饱和晶体管对地开关,电路由I与Q检波器构成,由电压控制振荡器驱动振荡器确定译码器中心频率。用外接元件独立设定中心频率带宽和输出延迟。
主要用于振荡、调制、解调、和遥控编、译码电路。如电力线载波通信,对讲机亚音频译码,遥控等。


用外接电阻20比1频率范围
逻辑兼容输出具有吸收100mA电流吸收能力。
可调带宽从0%至14%
宽信号输出与噪声的高抑制
对假信号抗干扰
高稳定的中心频率
中心频率调节从0.01Hz到500kHz
电源电压5V--15V,推荐使用8V。
应用举例:输入端接104电容,输出端接上拉电阻10K,C1、C2为1uF。R1、C1决定振荡频率,一般C1为104电容,R1为10K--200K。电源电压为8V。
单通道红外遥控电路
在不需要多路控制的应用场合,可以使用由常规集成电路组成的单通道红外遥控电路。这种遥控电路不需要使用较贵的专用编译码器,因此成本较低。
单通道红外遥控发射电路如图1所示。在发射电路中使用了一片高速CMOS型四重二输入“与非”门74HC00。其中“与非”门3、4组成载波振荡器,振荡频率f0调在38kHz左右;“与非”门1、2组成低频振荡器,振荡频率f1不必精确调整。f1 对f0进行调制,所以从“与非”门4输出的波形是断续的载波,这也是经红外发光二极管传送的波形。几个关键点的波形如图2所示,图中B′波形是A点不加调制波形而直接接高电平时B点输出的波形。由图2可以看出,当A点波形为高电平时,红外发光二极管发射载波;当A点波形为低电平时,红外发光二极管不发射载波。这一停一发的频率就是低频振荡器频率f1。 在红外发射电路中为什么不采用价格低廉的低速CMOS四重二输入“与非”门CD4011,而采用价格较高的74HC00呢?主要是由于电源电压的限制。红外发射器的外壳有多种多样,但电源一般都设计成3V,使用两节5号或7号电池作电源。虽然CD4011的标称工作电压为3~18V,但却是对处理数字信号而言的。因为这里CMOS“与非”门是用作振荡产生方波信号的,即模拟应用,所以它的工作电压至少要4.5V才行,否则不易起振,影响使用。而74HC系列的CMOS数字集成电路最低工作电压为2V,所以使用3V电源便“得心应手”了。74HC00的引脚功能如图3所示。


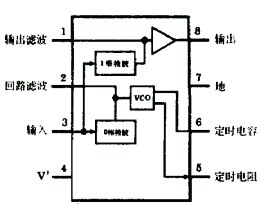
图4为红外接收解调控制电路。图中,IC1是LM567。LM567是一片锁相环电路,采用8脚双列直插塑封。其⑤、⑥脚外接的电阻和电容决定了内部压控振荡器的中心频率f2,f2≈1/1.1RC。其①、②脚通常分别通过一电容器接地,形成输出滤波网络和环路单级低通滤波网络。②脚所接电容决定锁相环路的捕捉带宽:电容值越大,环路带宽越窄。①脚所接电容的容量应至少是②脚电容的2倍。③脚是输入端,要求输入信号≥25mV。⑧脚是逻辑输出端,其内部是一个集电极开路的三极管,允许最大灌电流为100mA。LM567的工作电压为4.75~9V,工作频率从直流到500kHz,静态工作电流约8mA。LM567的内部电路及详细工作过程非常复杂,这里仅将其基本功能概述如下:当LM567的③脚输入幅度≥25mV、频率在其带宽内的信号时,⑧脚由高电平变成低电平,②脚输出经频率/电压变换的调制信号;如果在器件的②脚输入音频信号,则在⑤脚输出受②脚输入调制信号调制的调频方波信号。在图4的电路中我们仅利用了LM567接收到相同频率的载波信号后⑧脚电压由高变低这一特性,来形成对控制对象的控制。
弄清了LM567的基本工作原理和功能后,再来分析图4电路便非常简单了。IC1是红外接收头,它接收发射器发出的红外信号,其中心频率与发射器载波频率f0相同,经IC1解调后,在输出端OUT输出频率为f1的方波信号,也就是与图1中A点波形相同的信号。我们将LM567的中心频率调到与发射器中“与非”门1、2振荡频率相同,即使f2= f1。则当发射器发射信号时,LM567便开始工作,⑧脚由高电平变为低电平,利用这个变化的电平便可去控制各种对象。利用图4的电路,我们可以做成遥控开关,遥控家里的各种家用电器。
实际上,利用图1和图4所示的电路,我们也可以较容易地将其改造成多路遥控电路。方法是:在发射器(图1)中将电阻R*变成若干挡不同的数值,由此形成若干种频率不同的调制信号;在接收电路中,设置若干只LM567,其输入均来自红外接收头,各个LM567的振荡频率不同但与发射端一一对应。这样当发射器按压不同的按钮,接入不同的调制信号时,在接收端对应的LM567的⑧脚的电平就会发生变化,由此形成多路控制。严格说来,这属于一种频分多路,与数字编译码多路控制相比,缺点是调试比较复杂。但在有些场合,如在多路报警中,也有其一席之地。因在报警应用场合中,需要解决两路以上同时报警的问题时,用时分多路存在复杂的同步问题,在频宽允许的情况下用频分多路则很容易解决。
超声波遥控电路
1、超声波遥控电灯开关
这种遥控开关,电路简单,且免调试,非常适合初学者制作。
一、工作原理
为发射电路。电路采用分立器件构成,VT1和VT2以及R1~ R4、C1、C2构成自激多谐振荡器,超声发射器件B被联接在VT1和VT2的集电极回路中,以推挽形式工作,回路时间常由R1、C1和R4、C2确定。超声发射器件B的共振频率使多谐振荡电路触发。因此,本电路可工作在最佳频率上。

(图2)为接收电路,结型场效应VT1构成高输入阻抗放大器,能够很好地与超声接收器件B相匹配,可获得较高接收灵敏度及选频特性。VT1采用自给偏压方式,改变R3即可改变VT1的表态工作点,超声接收器件B将接收到的超声波转换为相应的电信号,经VT1和VT2两极放大后,再经VD1和VD2进行半波整流变为直流信号,由C3积分后作用于VT3和基极,使VT3由截止变为导通,其集电极输出负脉冲,触发器JK触发D,使其翻转。JK触发器Q端的电平直接驱动继电器K,使K吸合或释放。由继电器K的触点控制电路的开关。
二、元件选用
发射电路中,VT1和VT2用CS9013或CS9014等小功率晶体管,≥100。超声发射器件用SE05—40T,电源GB采用一块9V叠层电池,以减小发射器体积和重量。
接收电路中,VT1和3DJ6或是3DJ7等小功率结型场效应晶体管。VT2~ VT3用CS9013,≥100。VD1和VD2用IN4148。JK触发器263B。超声接收器件用SE05—40R,与SE05—40T配对使用。继电器K用HG4310型。
超声波遥控电扇变速器
一、工作原理
(图3)为发射电路。它采用的是国产蝙蝠牌FS—A5A型电风扇的遥控发射器。这种发射器具有体积小、耗电省、工作可靠、电路简单等特点。在使用时,每按一下发射键,发射器发出约为500ms的40KHZ的超声波。发射电路的工作原理如下。
VT2和VT3构成直接耦合正反馈振荡电路,B为40KHz超声发射器件,并兼振荡电路反馈先频元件。因此,此电路可准确地振荡于超声发射器件的中心频率40KHZ。VT1和R2、C1组成500ms延时电路。R1、VD1是C1的放电通路,当按下发射键S时,VT2构成的振荡电路工作,发出超声波,同时,电源通过R2向C1充电,当C1上的电位充到1.4V时(约经过500ms),VT1导通,VT2基极以及VT3集电极电位下降为0.3V左右,振荡器停止工作,当松开发射键S时,C1通过VD1和R1迅速放电,为下一次发射作好准备.VD3和R4构成发射指示电路,当按发射键时,VD3发光。
(图4)为接收电路。CMOS非门D1~ D3由R1偏置为线性放大器,总增益可达60bB以上,由于CMOS电路的输入阻抗较高,故能够很好与超声接收器件匹配。放大后的信号由C1耦合给锁相环译码器LM567的输入端3脚。当输入信号的频率落在其中心频率上时,LM567的逻辑输出端8脚由高电平变为低电平。
选频声控开关
此声控开关可由一特定音调的(500到2000Hz)声音来控制任一电器的开或关。由于它有一定的选频作用,故误动作的机率小。
电路设计为用音频电信号(达100mV)来控制,其控制信号源可以是电话、收音机、电唱机、录音机,从其中适当点用屏蔽线引来。如果想用声波遥控,加一个驻极体话筒和一级前置放大即可。
本装置的电路如图16所示.它的中心器件是一块拾音集成电路LM567,以及一个50mA的继电器。
一定音调的音频信号加至LM567的输入端(3脚)后,经内电路的放大、选频等处理,在其输出端8脚输出低电平(没有输入信号时为高电平)。这时,与其相接的一个PNP管(2N3906)导通,使接在集电极电路中的继电器吸动,从而以其接点去控制被控电器。若用以开机,则使用继电器的常开、动合接点;若用来关机,则应采用常合、动开式接点。
响应频率决定于接于第5、6脚的电位器和电容器的值,故调整10kΩ电位器可调节其响应频率。本机可接收的音频范围为500~2000Hz。
二极管1N4001用以保护晶体三极管.2N3906可以用其它任何型号的中、小功率PNP硅管代替。