全球最实用的IT互联网信息网站!

AI人工智能P2P分享&下载搜索网页发布信息网站地图

当前位置:诺佳网 > 电子/半导体 > 音视频/家电 >

利用6J3和6N3设计耳机放大及前级放大器的实现方

时间:2010-06-19 10:46

人气:

作者:admin

标签: 6J3  6N3  前级 

导读:利用6J3和6N3设计耳机放大及前级放大器的实现方法-本文主要是用锐截止束射四极管6J3和6N3构成电流源负载共阴极放大电路,具有一定得电压和电流,输入和输出阻抗近似于一般共阴极电...

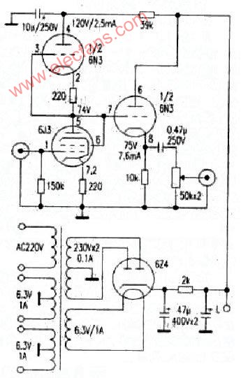
本文主要是用锐截止束射四极管6J3和6N3构成电流源负载共阴极放大电路,具有一定得电压和电流,输入和输出阻抗近似于一般共阴极电路。但它也是一款电流源负载SRPP电路,简洁,放大性好,频响宽,动态范围大,音质亮丽柔和,失真系数,声场表现力强等是其特点。搭配100~300欧的耳机使用。本耳机放大电路也可作为前级放大器使用,表现同样出色。电路原理图如下:


温馨提示:以上内容整理于网络,仅供参考,如果对您有帮助,留下您的阅读感言吧!
相关阅读
本类排行
相关标签
本类推荐

CPU | 内存 | 硬盘 | 显卡 | 显示器 | 主板 | 电源 | 键鼠 | 网站地图

Copyright © 2025-2035 诺佳网 版权所有 备案号:赣ICP备2025066733号
本站资料均来源互联网收集整理,作品版权归作者所有,如果侵犯了您的版权,请跟我们联系。

关注微信