全球最实用的IT互联网站!
人工智能P2P分享搜索全网发布信息网站地图标签大全
被富士康收购的夏普新作:8K分辨率屏幕“八连屏
阅读全文2018-04-02
四个方面解读松下发布的柜式开关洗衣机
中美贸易:大家电影响甚微,部分小家电影响较
亚马逊与谷歌的明争暗斗 带屏智能音箱能否“重
阅读全文2018-03-30
聚焦碳纳米点 碳纳米粒子技术或改变未来照明市
4K电视迅速普及 8K电视崛起指日可待
阅读全文2018-03-29
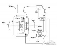
佳能coms传感器防抖新专利 机身防抖与镜头防抖同
2018年相机发展有哪些技术亮点?从六个关键词出
小米40吋电视新品到底值不值得买?
CITE 2018即将开幕 智能终端都有哪些看点
阅读全文2018-03-28
低成本、易部署、更高效 | 千视全NDI IP剧
音频电路供电没有负压也能正常输出的原
富信推出新款双P沟道增强型场效应管FS
制冷系统和制冷机一样吗 制冷系统和制冷
CPU | 内存 | 硬盘 | 显卡 | 显示器 | 主板 | 电源 | 键鼠 | 网站地图
Copyright © 2025-2035 诺佳网 版权所有 备案号:赣ICP备2025066733号 本站资料均来源互联网收集整理,作品版权归作者所有,如果侵犯了您的版权,请跟我们联系。