全球最实用的IT互联网信息网站!
AI人工智能P2P分享&下载搜索网页发布信息网站地图
可穿戴跑鞋体感游戏机
阅读全文2020-07-14
如果选择智能手环 小米手环4怎样
华米科技新一代智能可穿戴设备芯片
可穿戴设备:全球苹果第一 华为跟随其后
OPPO Watch 拆解解析
微软曝光可精准测量佩戴者血压的智能可穿戴设
诺基亚将发布最新智能手表
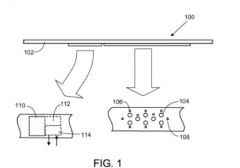
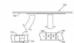
微软一项可穿戴新专利可精确测量血压
阅读全文2020-07-13
ST助力增强可穿戴设备竞争力
可穿戴设备厂商排名 华为力压小米苹果跃居第一
Altium Designer在运动控制与可穿戴设备行业
展会直击:从AI眼镜到AI玩具,打工人逆袭
广濑电机推出后锁式FPC连接器FH80系列
DeepSeek与存储芯片为AI眼镜注入新动能
CPU | 内存 | 硬盘 | 显卡 | 显示器 | 主板 | 电源 | 键鼠 | 网站地图
Copyright © 2025-2035 诺佳网 版权所有 备案号:赣ICP备2025066733号 本站资料均来源互联网收集整理,作品版权归作者所有,如果侵犯了您的版权,请跟我们联系。