网站首页 全球最实用的IT互联网站!

人工智能P2P分享Wind搜索发布信息网站地图标签大全

当前位置:诺佳网 > 电子/半导体 > 制造与封装 >

[图文]32W日光灯 镇流器剖析

时间:2006-04-16 18:09

人气:

作者:admin

标签: 图文32  流器剖析 

导读:[图文]32W日光灯镇流器剖析- 电路如下图所示。该电路由整流滤波电容、高频振荡电路以及输出负载屯路三部分构成。交流220V经整流滤...
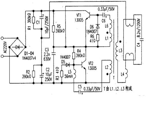
电路如下图所示。该电路由整流滤波电容、高频振荡电路以及输出负载屯路三部分构成。交流220V经整流滤波输出约300V直流为振荡电路提供电源。开机后,电源经R5对C3充电,使Vc3迅速升高,从而使VT2迅速达到饱和导通;此时由于T的反馈作用使VTI截止。VT2一旦导通,则Vc3下降,流过L2的电流减小,引起L2两端一个上负下正的电压。据同名端原则,L1得到上正下负的反馈电压,从而使VTI迅速饱和导通,同时T的正反馈作用又使VT2迅速截止,如此周而复始形成振荡方波(R6D6、R3D5起续流作用)。负载回路由L3、L4、C4构成。VTI、VT2产生的高频振荡方波由L3加给负载作激励源。灯管点亮前,由C4、L4等形成很大的谐振电梳流过灯丝,使管内氢气电离,进而使水银变为水银蒸汽,C4两端的高电压又使水银蒸汽形成弧光放电,激发管壁荧光粉发光。灯管点亮后,C4基本上不起作用,此时L4则起阻流作用。
常见故障1. VTl、VT2击穿进而导致D1-D4被击穿,此时将引起电源短路;2.R4偏置损坏; 3.振荡电路中L5.L6易损坏;4.负载电路中C24因高压易被击穿。最后特别说明,目前市场上所见的各种40W、32W节能日光灯以及各种环形灯,均可参考此电路进行分析。

温馨提示:以上内容整理于网络,仅供参考,如果对您有帮助,留下您的阅读感言吧!
相关阅读
本类排行
相关标签
本类推荐

CPU | 内存 | 硬盘 | 显卡 | 显示器 | 主板 | 电源 | 键鼠 | 网站地图

Copyright © 2025-2035 诺佳网 版权所有 备案号:赣ICP备2025066733号
本站资料均来源互联网收集整理,作品版权归作者所有,如果侵犯了您的版权,请跟我们联系。

关注微信