时间:2023-06-16 16:41
人气:
作者:admin
MAX7219数据手册
(从官方英文手册翻译过来)
一、概述
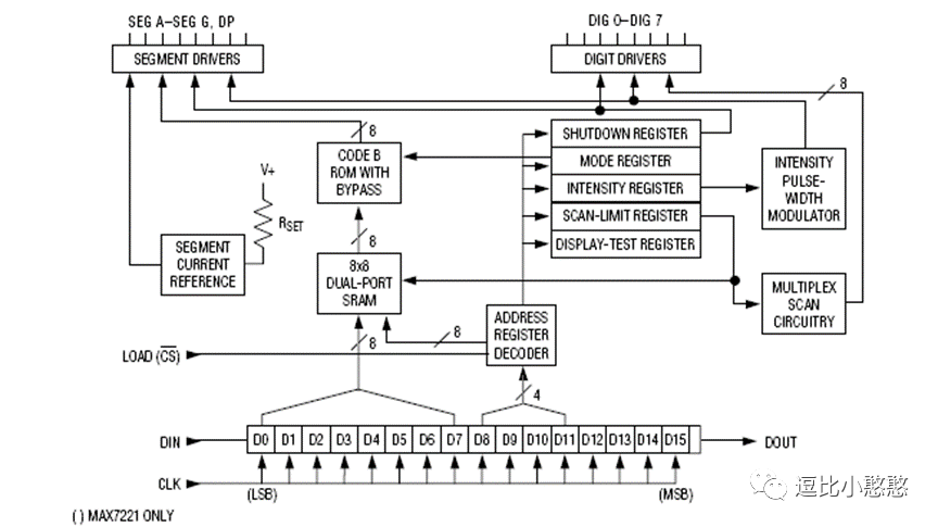
MAX7219/MAX7221是一种集成化的串行输入/输出共阴极显示驱动器,它连接微处理器与8位数字的7段数字LED显示,也可以连接条线图显示器或者64个独立的LED。其上包括一个片上的B型BCD编码器、多路扫描回路,段字驱动器,而且还有一个8*8的静态RAM用来存储每一个数据。只有一个外部寄存器用来设置各个LED的段电流。MAX7221与SPI™、QSPI™以及 MICROWIRE™相兼容,同时它有限制回转电流的段驱动来减少EMI(电磁干扰)。一个方便的四线串行接口可以联接所有通用的微处理器。每个数据可以寻址在更新时不需要改写所有的显示。MAX7219/MAX7221同样允许用户对每一个数据选择编码或者不编码。整个设备包含一个150μA的低功耗关闭模式,模拟和数字亮度控制,一个扫描限制寄存器允许用户显示1-8位数据,还有一个让所有LED发光的检测模式。在应用时要求3V的操作电压或segment blinking,可以查阅MAX6951数据资料。
二、应用
条线图显示 仪表面板 工业控制 LED矩阵显示
三、管脚配置

四、功能特点
五、分类信息
芯片 工作温度范围 管脚封装
MAX7219CNG 0°C to +70°C 24 Narrow Plastic DIP
MAX7219CWG 0°C to +70°C 24 Wide SO
MAX7219C/D 0°C to +70°C Dice*
MAX7219ENG -40°C to +85°C 24 Narrow Plastic DIP
MAX7219EWG -40°C to +85°C 24 Wide SO
MAX7219ERG -40°C to +85°C 24 Narrow CERDIP
五、典型应用电路

六、功能图表

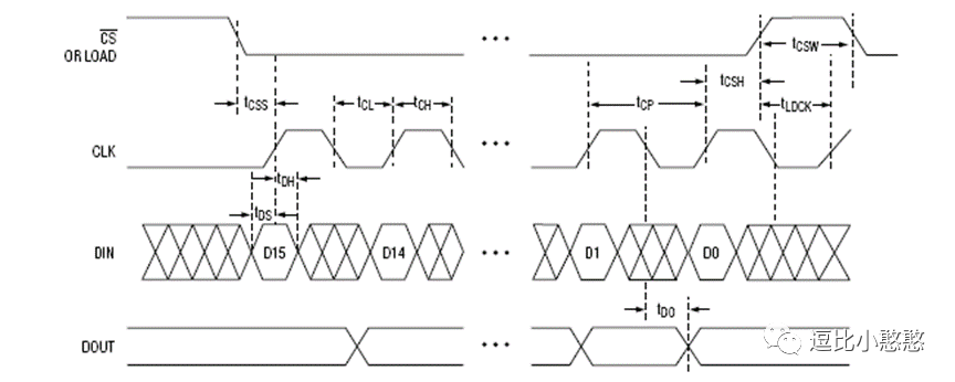
七、时序图

MAX7219原理图

MAX7219驱动程序
#include < reg51.h >
#include < intrins.h >
#define uchar unsigned char
#define uint unsigned int
//定义Max7219端口
sbit Max7219_pinCLK = P2^2;
sbit Max7219_pinCS = P2^1;
sbit Max7219_pinDIN = P2^0;
uchar code disp1[38][8]={
{0x3C,0x42,0x42,0x42,0x42,0x42,0x42,0x3C},//0
{0x10,0x18,0x14,0x10,0x10,0x10,0x10,0x10},//1
{0x7E,0x2,0x2,0x7E,0x40,0x40,0x40,0x7E},//2
{0x3E,0x2,0x2,0x3E,0x2,0x2,0x3E,0x0},//3
{0x8,0x18,0x28,0x48,0xFE,0x8,0x8,0x8},//4
{0x3C,0x20,0x20,0x3C,0x4,0x4,0x3C,0x0},//5
{0x3C,0x20,0x20,0x3C,0x24,0x24,0x3C,0x0},//6
{0x3E,0x22,0x4,0x8,0x8,0x8,0x8,0x8},//7
{0x0,0x3E,0x22,0x22,0x3E,0x22,0x22,0x3E},//8
{0x3E,0x22,0x22,0x3E,0x2,0x2,0x2,0x3E},//9
{0x8,0x14,0x22,0x3E,0x22,0x22,0x22,0x22},//A
{0x3C,0x22,0x22,0x3E,0x22,0x22,0x3C,0x0},//B
{0x3C,