全球最实用的IT互联网信息网站!

AI人工智能P2P分享&下载搜索网页发布信息网站地图

当前位置:诺佳网 > 电子/半导体 > RF/无线技术 >

HMC900LP5E基带可编程VGA滤波器

时间:2022-05-05 15:25

人气:

作者:admin

标签: 滤波器 

导读:HMC900LP5E具有匹配的滤波器路径,提供出色的正交平衡,是I/Q通信应用的理想选择。 6阶巴特沃兹传递函数具有出色的阻带抑制性能,同时保持平坦的通带和最低群延迟变化。...

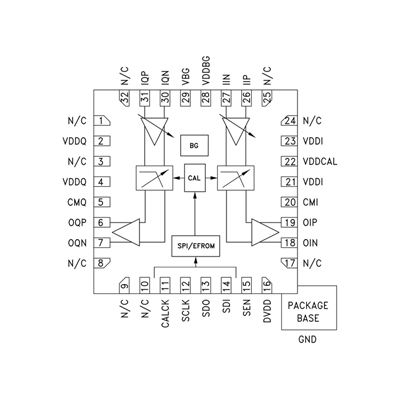
HMC900LP5E是一款6阶、可编程带宽、完全校准、双通道低通滤波器。 该器件具有0或10 dB输入增益设置并支持3.5至50 MHz范围的任意带宽。校准时,相对所需带宽的精度为±2.5%。 它包括滤波器旁路选项,带宽为100 MHz,同时可保持增益和共模设置。

HMC900LP5E采用紧凑型5x5mm SMT QFN封装,只需极少的外部元件,为更复杂的开关分立式滤波器架构提供了一种低成本替代解决方案。 HMC900LP5E的滤波器校准采用20至80 MHz参考时钟速率。 一次可编程(OTP)存储器具有无与伦比的灵活性,允许用户“一次性设置”增益、带宽等参数。

HMC900LP5E具有匹配的滤波器路径,提供出色的正交平衡,是I/Q通信应用的理想选择。 6阶巴特沃兹传递函数具有出色的阻带抑制性能,同时保持平坦的通带和最低群延迟变化。

pYYBAGJx4_2ANOdpAAEF-6Cb9Rs897.pngHMC900LP5E

低噪声系数: 12 dB
高线性度: 输出IP3 +30 dBm
可编程带宽:
3.5至50 MHz
出色的 3 dB
带宽精度: ±2.5%
六阶巴特沃兹幅度和相位响应
自动滤波器校准
外部控制共模
输出电平简化接口
读/写串行端口接口(SPI)
32引脚5x5 mm SMT封装: 25 mm²

应用

ADCDAC基带滤波
点对点、固定无线与蜂窝基站收发机
集成式直接变频接收机(DCR)
软件定义无线电应用
测试和测量设备

ADAQ8088

ADRF6520

ADRF6518

HMC1023

ADRF6516

ADRF6510

HMC900

温馨提示:以上内容整理于网络,仅供参考,如果对您有帮助,留下您的阅读感言吧!
相关阅读
本类排行
相关标签
本类推荐

CPU | 内存 | 硬盘 | 显卡 | 显示器 | 主板 | 电源 | 键鼠 | 网站地图

Copyright © 2025-2035 诺佳网 版权所有 备案号:赣ICP备2025066733号
本站资料均来源互联网收集整理,作品版权归作者所有,如果侵犯了您的版权,请跟我们联系。

关注微信