全球最实用的IT互联网站!
人工智能P2P分享搜索全网发布信息网站地图标签大全
数字化技术热潮下,RFID迎来许多机遇
阅读全文2020-08-24
基于Wi-Fi模块的可穿戴医疗设备电路设计
信号满格,Wi-Fi依旧无法使用的原因
汽车未来化离不开无线充电模块,推荐几款车载
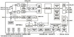
超低功耗收发器ADF7023-J的性能特点你应用分析
Wi-Fi 6中无线芯片“配对”的重要性分析
阅读全文2020-08-22
无线传感器网络中识别资产和监测资产移动速度
阅读全文2020-08-21
超高频RFID读写器的工作原理和特点
pda手持终端的特点及具体应用
终端节点数已超过1.45亿,LoRa新平台解决定位难题
QCA9531方案小尺寸无线路由WiFi模块SKW103
常用天线,无源器件有哪些类型(干货分享
如何抓取app数据包 网络抓包原理及实现
谁是5G应用的狮子座?
CPU | 内存 | 硬盘 | 显卡 | 显示器 | 主板 | 电源 | 键鼠 | 网站地图
Copyright © 2025-2035 诺佳网 版权所有 备案号:赣ICP备2025066733号 本站资料均来源互联网收集整理,作品版权归作者所有,如果侵犯了您的版权,请跟我们联系。