时间:2023-08-01 17:12
人气:
作者:admin
这是使用许多功率晶体管构建的1000W功率放大器电路。以下方案图仅用于单声道/单声道,您可以构建两个相同的电路用于立体声音频系统。
电路原理图:

该电路所需的电源至少单通道10A,立体声通道20A。采用对称供电(双极性),推荐电压63V。
组件清单:

功率晶体管2SA1216和2SC2922必须安装在散热器上,以防止过热影响声音性能并使晶体管比正常情况更快损坏。
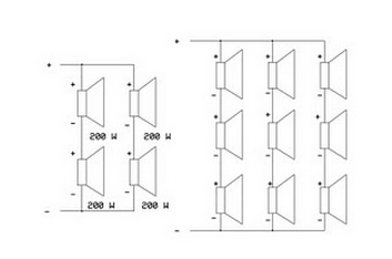
扬声器组合:

为了获得大功率的扬声器组合技术,可以采用并联串联的方式,将每组扬声器组合在一起,使其具有相同的阻抗、相同的类型(低音扬声器、中音扬声器或高音扬声器)和相同的功率。试用这款1000w功率的音频放大器时,请确保将音量调节到最低位置。
龙腾半导体SGT MOSFET LSGT085R018在智慧农业无