时间:2023-06-03 16:11
人气:
作者:admin
虽然晶体管(BJT)通常用于制造放大器电路,但它们也可以有效地用于开关应用。
晶体管开关是一种电路,其中晶体管的集电极以相对较大的电流打开/关闭,以响应其基极发射极上相应切换的低电流ON/OFF信号。
例如,以下BJT配置可用作反相计算机逻辑电路输入信号的开关。

在这里,您可以发现输出电压Vc与施加在晶体管基极/发射极上的电位相反。
此外,与基于放大器的电路不同,基极不与任何固定直流电源连接。集电极具有与系统电源电平相对应的直流电源,例如在此计算机应用案例中为 5 V 和 0
V。
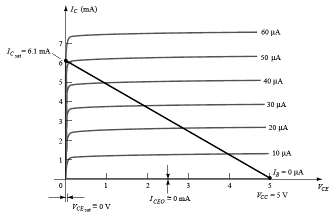
我们将讨论如何设计这种电压反转,以确保工作点沿负载线正确从切断切换到饱和,如下图所示:

对于目前的情况,在上图中,我们假设IC = ICEO = 0 mA,当IB = 0 uA时(关于增强施工策略的一个很好的近似值)。此外,假设VCE =
VCE(sat) = 0 V,而不是通常的0.1至0.3 V电平。
现在,在Vi = 5 V时,BJT将接通,设计考虑因素必须确保配置高度饱和,IB幅度可能大于接近饱和水平的IB曲线的相关值。
如上图所示,该条件要求IB大于50 uA。
计算饱和度水平
所示电路的集电极饱和水平可以使用以下公式计算:
IC(卫星) = Vcc / Rc
饱和水平之前有源区域的基极电流大小可以使用以下公式计算:
IB(最大值) ≅ IC(卫星) / βdc ----------公式 1
这意味着,要实现饱和度,必须满足以下条件:
IB 》 IC / IC / βdc -------- 公式 2
在上面讨论的图中,当Vi = 5 V时,可以用以下方法评估得到的IB水平:

如果我们用这些结果测试等式 2,我们会得到:

这似乎完全满足了所需的条件。毫无疑问,任何高于60 uA的IB值都将被允许通过与垂直轴非常接近的负载线穿过Q点进入。
现在,参考第一个图中显示的BJT网络,当Vi = 0 V,IB = 0 uA时,假设IC = ICEO = 0
mA,RC上发生的压降将按照以下公式计算:
VRC = 红十字国际委员会 = 0 V。
对于上面的第一张图,这给了我们VC = +5 V。
除了计算机逻辑切换应用外,这种BJT配置还可以像使用负载线相同极值点的开关一样实现。
当发生饱和时,电流IC趋于相当高,这相应地将电压VCE降至最低点。
这在两个端子上产生一个电阻水平,如下图所示,并使用以下公式计算:
R(sat) = VCE(sat) / IC(sat),如下图所示。

如果我们假设VCE(sat)的典型平均值,例如上式中的0.15 V,我们得到:

与BJT集电极端子上的串联电阻(以千欧姆为单位)相比,集电极发射极两端的电阻值看起来非常小。

现在,当输入Vi = 0 V时,BJT开关将被切断,导致集电极发射极两端的电阻为:
R(截止) = Vcc / ICEO = 5 V / 0 mA = ∞ Ω
这导致集电极发射极端子上出现开路情况。如果我们考虑ICEO的典型值为10 uA,则截止电阻的值如下所示:
截止 = Vcc / ICEO = 5 V / 10 uA = 500 k Ω
该值看起来非常大,相当于大多数BJT配置作为开关的开路。
求解一个实际的例子
计算下面配置如逆变器的晶体管开关的RB和RC值,假设ICmax = 10mA

表示收集器饱和度的公式为:
ICsat = Vcc / Rc
∴ 10 mA = 10 V / Rc
∴ Rc = 10 V / 10 mA = 1 kΩ
此外,在饱和点
IB ≅ IC(卫星) / βdc = 10 mA / 250 = 40 μA
为了保证饱和,让我们选择IB = 60 μA,并使用公式
IB = Vi - 0.7 V / RB,我们得到
RB = 10 V - 0.7 V / 60 μA = 155 kΩ ,
将上述结果四舍五入为150 kΩ,并再次计算上述公式,我们得到:
IB = Vi - 0.7 V / RB
= 10 V - 0.7 V / 150 kΩ = 62 μA,
由于 IB = 62 μA 》 ICsat / βdc = 40 μA
这证实了我们必须使用 RB = 150 kΩ
计算开关晶体管
您会发现称为开关晶体管的特殊晶体管,因为它们从一个电压电平切换到另一个电压电平的速度很快。
下图将符号为 ts、td、tr 和 tf 的时间段与器件的集电极电流进行了比较。

时间段对集电极速度响应的影响由集电极电流响应定义,如下所示:

晶体管从“关”状态切换到“开”状态所需的总时间表示为 t(on),可通过以下公式确定:
t(on) = tr + td
此处,td标识输入开关信号改变状态和晶体管输出响应变化时发生的延迟。时间tr表示从10%到90%的最终开关延迟。
bJt 从打开状态到关闭状态所花费的总时间表示为 t(off),由以下公式表示:
t(关闭) = ts + tf
TS 确定存储时间,而 tf 确定从原始值的 90% 到 10% 的下降时间。
参考上图,对于通用BJT,如果集电极电流Ic = 10 mA,我们可以看到:
TS = 120 ns, TD = 25 ns, TR = 13 ns, TF = 12 ns
这意味着 t(on) = tr + td = 13 ns + 25 ns = 38 ns
t(off) = ts + tf = 120 ns + 12 ns = 132 ns
上一篇:一个简单的恒流齐纳二极管电路
下一篇:串联晶体管稳压器电路
龙腾半导体SGT MOSFET LSGT085R018在智慧农业无