时间:2023-04-28 11:48
人气:
作者:admin
一、描述
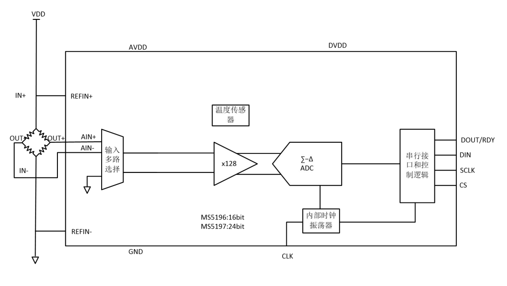
MS5196T/MS5197T 为适合高精度测量应用的低功耗、低噪声、差分输入的 16bit/24bit 模数转换器。其内部集成了低噪声输入缓冲器、低噪声仪表放大器,其片内还集成温度传感,用来做测试时的温度补偿。此芯片采用外部时钟或内部时钟,输出数据速率可通过软件设置数据更新速率为 4.17Hz 到 123Hz。MS5196T/MS5197T 电源电压范围为 2.7V 到 5.25V,典型功耗为 320uA。MS5196T/MS5197T 采用了TSSOP16 封装。
二、主要特点
RMS 噪声:65nV
功耗:典型值为 320uA
集成低噪声、增益仪表放大器
集成片内温度传感器
集成内部时钟振荡器
更新速率:4.17Hz 到 123Hz
集成 50Hz/60Hz 限波滤波器
电源电压:2.7V 到 5.25V
工作温度范围:-40°C 120°C
三、应用
RTD 测量
衡器应力检测
气体分析和血液分析
工业过程控制和仪器仪表
液相和气相色谱仪
智能发射机
6 位 DVM
封装图
管脚图

管脚说明图

瑞盟一级代理 左凡 15926481710
内部框图

MS5196/MS5197可完美替代AD7796/AD7797
输出噪声和分辨率(外部参考电压)
下表给出了一些更新速率下的 MS5197T 的输出均方根噪声。所提供的数据是针对双极性输入范围、采用 2.5V 外部基准电压。这些数值为差分输入电压为 0V 时的典型值。注意 ,有效分辨率 是利用均方根噪声计算得。

典型应用图

审核编辑:汤梓红
上一篇:如何将差分放大器模块化
下一篇:甲乙类功率放大器的工作原理
龙腾半导体SGT MOSFET LSGT085R018在智慧农业无