时间:2021-11-19 13:37
人气:
作者:admin

操作试验方法:
按上图接线,检查压力表指示内部气体压力是否正常(≥0.2MPA)
做交流耐压时短路杆插入孔J中,做直流泄漏试验,取出短路杆。
限流电阻配置:工频耐压每伏0.3~1欧:直流每伏5~10欧,一般试 验可不用。
拆除被试品线引线,套管及器身脏污清除,必要时采用屏蔽措施。
准备工作和安全措施就绪,空试一次设备。
接上被试品,直流试验应用屏蔽线,以消除杂散泄漏。
合上电源,控制箱(柜)电源批示绿灯亮。
按下起动按钮,起动指示灯亮。
对控制箱,顺时针均匀加电,注视电压表达到额定电压值。单台试验时读0-100KV刻度值,串级试验时读0-200KV刻度值。
持续规定耐压时间并注视电流表指示。
耐压时间到,注视KV表,迅速均匀降零。
做图2实验后用放电棒经电阻放电,然后直接接地放电。
高压部分可能被充电部位一一放电后,改变或拆除高压引线,及一切引线至此一次试验终止。
八、注意事项
试验设备的布置,对人身周围要有足够的安全距离。尽量避免在人员过道上布置设备及施高压引线。
试验现场安装围栏、悬挂“止步、高压危险”标示牌。
试验中高压引线要有支撑或牵引绝缘物。要有安全监护员,防止有人靠近和从底下穿过。
直流高压试验中微安表最好在高位时,除有屏蔽盒外有过流自动保护装置以防止突发性击穿短路或放电时表烧坏。
工频耐压试验:请注意验算设备容量是否足够,并应避免产生谐振。
工作地线(高压尾、稳压电容末端接地线)与保护地线(操作箱外壳)应分开连接,并有良好的接地性能。
试验中如有电源不规则摆动(如电焊)必然影响高压输出稳定,此时应停止试验查找原因排除。
试验工作对气候(温度、湿度)的要求应符合试验规程要求,并作记录。
高压测试工作要严格执行能源部颁发的安全工作规程有关规定。
九、维护及保养
应经常性地保持试验变压器的清洁,每次试验前应把尼龙套擦拭干净,并用塑料布罩住。
不应随意扭动除接线支柱以外的螺栓,防止因密封破坏造成的漏气现象。
轻微的泄漏是属于正常的现象,估计约每4年气压降低0.05Mpa,出厂时气压的在0.2-0.4Mpa之间。随着环境湿度的变化气压略有增减。当气压力降至0.1Mpa时应及时补气或停用。
补气时请采用我厂配备的专用充气咀和小罐六氟化硫气体,充气的压力绝不得大于0.4Mpa。一般情况下0.2-0.3Mpa即可
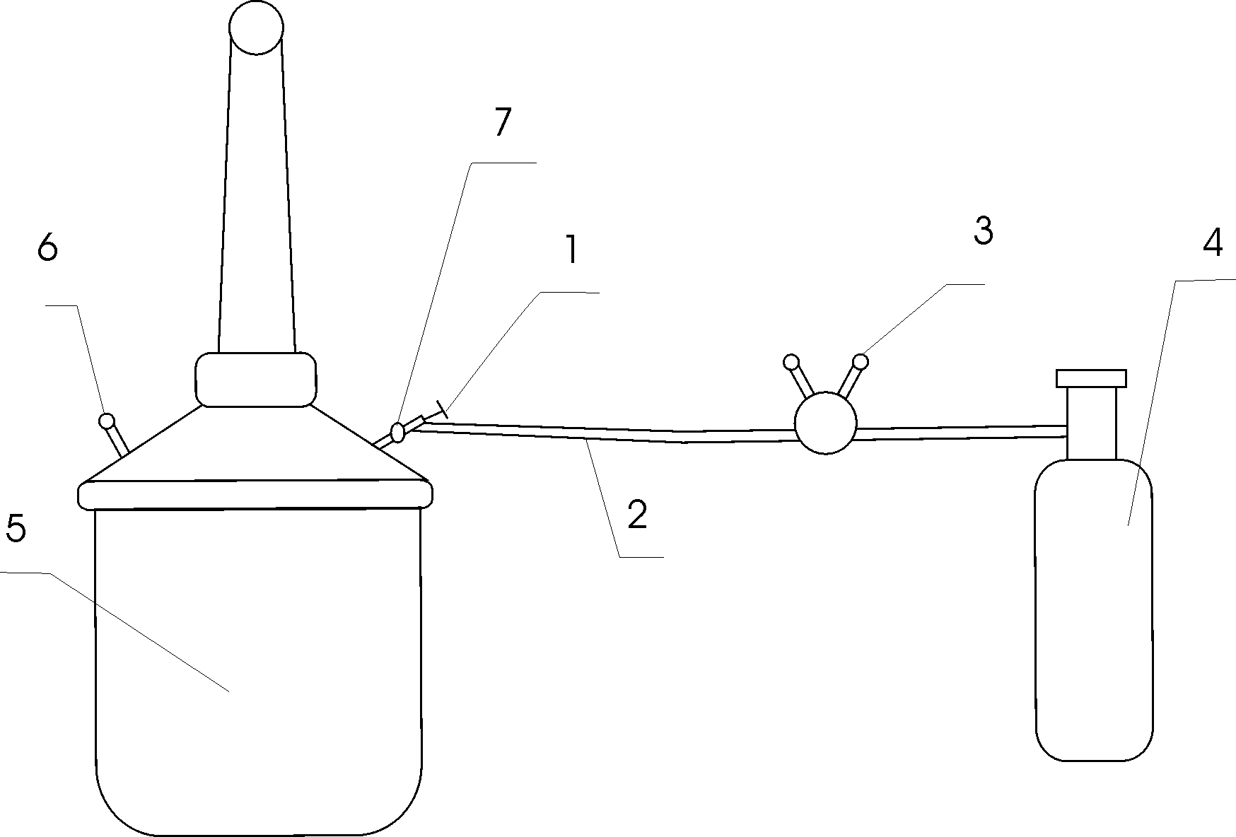
5、充气方式:

1、充气阀 2、氧气管道 3、氧气表 4、六氟化硫钢瓶 5、变压器
6、压力表 7、变压器充气咀
1、入口表按示意图接好管道。
2、打开六氟化硫气瓶上的阀门,使氧气表上压在20kg/cm左右。
3、旋入氧气表上的螺旋顶尖,让气压慢慢升高。此时有气体外溢。排出管道内的空气。
4、立即旋开充气阀(顺时针方向)并听到到气流,流入变压器本体内。
2cmⅡ |
5、调节氧气表上的螺顶尖,使氧气表的出口压力在5.5Kg/cm 。
2cmⅡ |
6、监视变压器压力表,当压力达到2.5—3Kg/ cmj时(即0.25—0.3Mpa),立即关死充气阀(逆时针方向)。绝对禁止超压以免发生危险。
7、关闭六氟化硫气瓶上阀门。
8、关闭氧气表上的阀门,充气工作结束。
拆下管道和充气阀门。
充好气后静止5分钟,让气体充分混合即可工作。
十、试验变压器的使用条件:
试验变压器额定使用条件下应满足下列要求:
A、周围环境温度:最高气温+40℃ 最低气温-20℃
B、空气最大相对温度,当空气温度为25℃时,相对湿度不超过85%。
C、安装地点无严重影响变压器绝缘的气体、蒸气、化学性积尘,污垢及其它爆炸性介质的场所。
D、试验变压器使用时应使其输入电压逐步升高且应在输出端串入足够的保护电阻,切忌高压状态下断合设备。
该变压器允许运行时间。
在额定容量的额定电压下,连续运行不得超过半小时,每次工作时间间隔为工作时间的5-10倍,以保证变压器的充分散热,在额定电压和额定电流的三分之二的工况条件下允许长期连续运行。
十一、技术指标及参数
对各电压等级变压器的空载电流4~9%
阻抗电压4~10%
现有规格及运行时 号 与YDQ配套 调压器铭牌 配套运行时间
KVA KVA min(分.5 1.5 1 ≤30
3 3 2 ≤30
5 5 3 ≤30
10 10 5或10 ≤30
20 20 10或15 ≤30
30 30 30 ≤30
50 50 50 ≤30
十二、控制箱常见故障排除
序号 | 常见故障 | 排除方法 |
1 | 合上电源后开关后,只有电源灯亮,调压器回零后,零位灯不亮。 | 断掉电源,打开柜门或将机芯从铝合金箱中取出,看调压器手柄与零位限位开关弹片是否触动良好,如不好可以适当调整 |
2 | 合上电源,回零,启动后,一转动调压器就跳闸 | 断掉电源,取下电流继电器的有机玻璃罩,检查电流继电器的四个触点弹片是否有卡死现象和接触杆是否与常闭触点接触良好。 |
3 | 合上电源,回零位后,零位灯,电源灯都亮,但启动不了 | 检查电流继电器触点常闭触点是否接触良好。启动开关是否良好。 |
4 | 合上电源,所有灯都不亮。 | 检查电源电路。 |
5 | 一切启动良好,但无输出电压 | 检查调压器炭刷有无断裂及接触是否良好。 |
6 | 操作试验变压器时,电流无限上升,电压不升。 | 变压器短路故障或调压器输出短路。 |
7 | 操作试验变压器时,电压不升或电压表有卡针现象。 | 检查电压表,更换电压表。 |