时间:2022-09-27 15:59
人气:
作者:admin

实验之前安全注意事项
1、使用直流高压发生器的工作人员必须是具有“高压试验上岗证”的专业人员。
2、使用本仪器请用户必须按《电力安规》168条规定,并在工作电源进入直流高压发生器前加装两个明显断开点,当更换试品和接线时应先将两个电源断开点明显断开。
3、试验前检查直流高压发生器控制箱、倍压筒和试品的接地线是否接好。试验回路接地线应按本说明书所示一点接地。
4、对大电容试品的放电应经100Ω/V放电电阻棒对试品放电。放电时不能将放电棒立即接触试品,应先将放电棒逐渐接近试品,至一定距离空气间隙开始游离放电有嘶嘶声。当无声音时可用放电棒放电,最后直接接上地线放电。
5、如做容性负载试验时,一定要接上限流电阻。
6、直流高压在200kV及以上时,尽管试验人员穿绝缘鞋且处在安全距离以外区域,但由于高压直流离子空间电场分布的影响,会使几个邻近站立的人体上带有不同的直流电位。试验人员不要互相握手或用手接触接地体等,否则会有轻微电击现象,此现象在干燥地区和冬季较为明显,但由于能量较小一般不会对人造成伤害。
7、试验完毕必须将接地线挂至高压输出端方可拆除高压引线。
一、简介
直流高压发生器采用了高频倍压电路,应用了最新的PWM高频脉宽调制技术,闭环调整,采用了电压大反馈,使电压稳定度大幅度提高。使用性能卓越的大功率IGBT器件及驱动技术,并根据电磁兼容性理论,采用特殊屏蔽、隔离和接地等措施。使直流高压发生器实现了高品质、便携式,并能承受额定电压放电而不损坏。具有输出功率大、体积小的特点,有可靠的过压、过流及零位合闸保护功能,带0.75倍电压切换功能。主要适用于电力部门、工矿、冶金、钢铁等企业动力部门对氧化锌避雷器、电力电缆、变压器、断路器、发电机等高压电气设备进行直流耐压试验或直流泄漏电流试验。
二、执行标准
序号 标准名称
1 DL/T 848.1-2004高压试验装置通用技术条件第一部分:直流高压发生器
2 DL/T 596-2005 《电力设备预防性试验规程》
3 DL/T 474.2-2006 《现场绝缘试验实施导则 第2部分:直流高电压试验》
》 |

三、工作原理框图
1.技术特点:
(1)精度高、测量准确。控制箱上电压表直接显示加在负载试品上的电压值,使用时无需外加分压器,接线简单。仪器具有高、低压端测量泄漏电流,高压端采用圆形屏蔽数字表显示,不怕放电冲击,抗干扰性能好,适合现场使用。
(2)电压调节稳定度高,全量程平滑调压,输出电压调节采用进口单个多圈电位器,升压过程平稳,调节精度高。
(3)负极性输出、零启动、连续可调、有过电压、过电流、回零、接地保护、特有断线保护等各种保护功能。自动保护电路功能强,保护完善可靠,使操作安全。
(4)采用最先进技术、工艺制造,率先应用中频倍压电路,采用最新的PWM高频脉宽调制技术和大功率IGBT器件,从而使输出高压稳定度更高,纹波系数更小。
(5)增设高精度0.75UDC1mA功能,为做氧化锌避雷器测量带来极大的方便。
(6)过电压整定采用了数字拨码开关,能将整定电压值直观显示,显示数值单位为kV,一目了然。
(7)故障取样采用专用的传感器,动作时间为纳秒级,光隔离元件也为纳秒级,可快速完全关断直流主回路,从而最大的保护仪器不受损伤。
(8)倍压筒采用新型材料,轻巧、坚固。底部设有三只内藏式支撑脚,增加了倍压筒的稳定性。外表涂特种绝缘材料,电气性能好,防潮能力强。
(9)机箱采用铝合金机箱,体积小,重量更轻、更美观、更可靠、操作简单、功能齐全,便于野外使用。
参数:
规格
技术参数 300/2 300/3 300/5
额定电压(kV) 300 300 300
额定电流(mA) 2 3 5
额定功率(W) 600 900 1500
控制箱质量(kg) 6.5 6.5 7.5
倍压筒质量(kg) 11 11 11.5
倍压筒高度(mm) 1250 1250 1250
电压精度 ±(1.0%读数+2个字)
电流精度 ±(1.0%读数+2个字)
纹波系数 ≤0.5%
电压稳定度 电源电压变化±10%时≤1%
过载能力 空载电压可超出额定电压10%使用10分钟
最大充电电流为1.25倍额定电流
电源 单相交流50Hz 220V±10%
工作方式 间断使用:额定负载30分钟
1.1倍额定电压使用:10分钟
工作环境 温度:-10℃~+40℃
相对湿度:室温为25℃时不大于85%(无凝露)
海拔高度:1500米以下
带电容
负荷能力 被试品电容量无限制
可用1.5倍的额定电流充电
结构特点 电气绝缘倍压筒
空气绝缘、无泄漏之虑
操作箱特点 高精度0.75UDC1mA单触按钮(精度≤1.0%)
最适合氧化锌避雷器试验
过压保护采用数字拨码开关,一目了然
便携式机箱,现场更方便
注:因产品不断更新,不另行通知,以实样为准,本公司保留解释权。
1.控制箱面板示意图

图2 面板布局图
1、接地端子 2、五芯航插 3、过压整定拨码
4、电源插座 5、电源开关 6、电流表头
7、电压调节旋钮钮 8、高压断带灯按钮 9、高压通带灯按
10、0.75倍带灯按钮 11、电压表头
说明:
(1)控制箱接地端子:控制箱接地端子与倍压筒接地端子及试品接地端连接为一点后再与接地网相连。
(2)中频及测量电缆快速连接插座:用于机箱与倍压筒的连接。连接时只需对准将电缆插头压下顺时针方向转动到位,拆线时只需逆时针转动电缆插头。
(3)过压整定拨盘:用于设定过电压保护值。拨盘所显示单位为kV,设定值为试验电压的1.1倍。
(4)电源输入插座:将随机配备的电源线与电源输入插座相连。(交流220V±10%,插座内自带保险管。)
(5)电源开关:向前按下,电源接通,高压断红灯亮。反之为关断。
(6)数显电流表:数字显示直流高压输出电流。
(7)电压调节电位器:该电位器为多圈电位器。顺时针旋转为升压,反之为降压。此电位器具备控制电子零位保护功能,因此升压前必须先回零。
(8)红色带灯按钮:高压断红灯亮,表示电源已接通及高压断开。在高压通绿灯亮状态下按下高压断红色按钮,绿灯灭红灯亮,高压回路切断。
(9)绿色带灯按钮:高压接通按钮、高压指示灯。在高压断红灯亮的状态下,按下高压通绿色按钮后,绿灯亮红灯灭,表示高压回路接通,此时可升压。此按钮须在电压调节电位器回零状态下才有效。如按下高压通绿色按钮,绿灯亮红灯仍亮,但松开绿色按钮绿灯灭红灯亮,表示机内保护电路已工作,此时必须关机检查过压整定拨码开关设置是否小于满量的5%及有无其它故障后再开机。
(10)黄色带灯按钮:高压通绿灯亮时有效,当按下0.75UDC1mA黄色按钮后黄灯亮,输出高压降至原来的0.75倍,并在一分钟内保持此状态。此功能是专为氧化锌避雷器快速测量0.75UDC1mA用。按下高压断红色按钮,红灯亮、绿灯和黄灯灭,高压切断并退出0.75倍状态。
(11)数显电压表:数字显示直流高压输出电压。
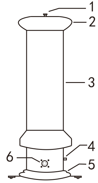
2.倍压筒示意图

图3 倍压筒示意图
1.高压引出接线柱(可连接微安表和限流电阻)
2.均压球
3.倍压筒体
4.接地端子
5.底座
6.中频连接端子
3.试验回路连接图

图4 试验回路连接图