时间:2022-05-30 10:34
人气:
作者:admin
摘要:采用多功能电力仪表采集变电所内10KV及0.4KV配电回路的各种电参量和开关信号。系统采用现场就地组网的方式,组网后通过现场总线通讯并远传至后台,通过Acrel-2000型电力监控系统实现配电所配电回路用电的实时监控和管理。
0 概述
乌鲁木齐疾控中心项目位于新疆维吾尔自治区乌鲁木齐市新市区国秀家园东门南侧,此次需要对配电室内的高、低压配电系统做一套电力监控系统。
高压系统为2条进线,2条出线,合计10面配电柜。
低压系统共有2台变压器,合计17面,系统进出线回路共63条。
1 需求分析
为保证生产管理用电负荷的统计与分析及对危险源实时监控。需要对现场的10KV高压配电柜及0.4KV低压配电柜进行电压、电流、功率等参数进行实时在线监控。一旦监控点被监视参数异常,能够及时检测报警,有关人员采取必要的措施,避免安全事故的发生。自动抄表功能节省了人力物力,电流趋势曲线功能能够直观的显示各回路的工作状态与时间。
数据采集
自动采集现场所有10KV回路及0.4KV回路多功能仪表的模拟量数据,自动采集现场开关状态以及故障状态等开关量数据,自动采集无线测温传感器的实时数据。
支持实时采集、自动周期采集(定时采集)可配置周期(1分钟~24小时)。
支持多线程处理机制,提高数据采集效率,能同时对多个设备进行数据采集。
数据实时显示采用配电室主接线图直观显示模式,各回路故障状态直观可见。
数据查询与展示
能方便实现各级管理人员的查询,查询界面能适应各级管理人员的要求能够支持灵活的条件组合查询。
数据展示功能按照不同用户的不同的权限,分为操作层、管理层、决策层三层用能展示。
权限管理
对不同用户赋予不同角色的权限,能授权到功能子菜单、具体档案记录、数据记录等。
系统具备合理完善的用户安全控制机制,能使应用环境中的信息资源得到合理地保护,防止信息的丢失、失窃和破坏。
故障报警
故障判断与报警具有故障自动判断并采用声光方式报警功能。报警类型包括现场多功能仪表与监控系统通讯故障等。报警时间自动记入系统数据库,方便用户查询,工作人员可随时掌握乌鲁木齐疾控中心项目变电所配电回路的实时运行状态,发现变配电运行故障并作出相应处理,提高变配电的管理效率,提升电力系统安全性、可靠性。
2 系统方案
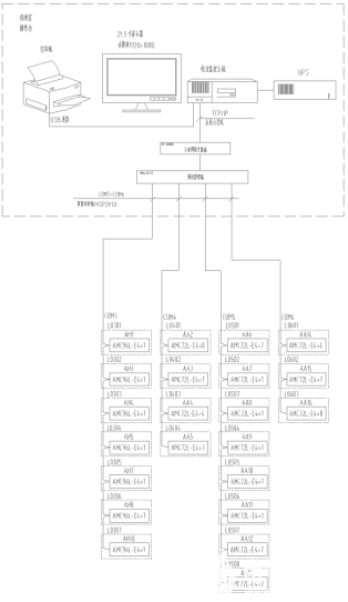
安科瑞Acrel-2000电力监控系统根据乌鲁木齐疾控中心项目变电所现场实际情况,7台高压柜多功能电力仪表,63台低压柜多功能电力仪表采用屏蔽双绞线分4根总线接至4口的通讯管理机上,再由网络传输至后台主机,保障了变电所电力监控系统传输的稳定性与实时性。如下图所示:

系统结构拓扑图
1)站控管理层
站控管理层针对电力监控系统的管理人员,是人机交互的直接窗口。在乌鲁木齐疾控中心项目中主要指置于变电所监控室的监控主机。
2)网络通讯层
通讯层主要是由以总线网络组成。总线网络的主要功能是实现现场高低压柜上安装的多功能仪表与站控管理层之间的数据交互,使配电系统管理集中化、信息化、智能化,提高了配电系统的安全性、可靠性和稳定性,达到了无人值守的目的。
3)现场设备层
现场设备层是数据采集终端,主要由10KV高压以及0.4KV低压配电回路的多功能电力仪表组成,各智能设备通过屏蔽双绞线RS485接口,采用MODBUS通讯协议总线连接接入监控主机进行组网,实现远程控制。
高低压电力仪表现场连接示意
现场高低压多功能电力仪表以手拉手方式通过屏蔽双绞线(RVSP2*1.0)进行通讯连接,每根总线连接高低压电力仪表25只左右。具体连接示意图如下所示:

通讯线路连接示意图
3 系统功能
配电所实时监控系统图为主监控画面,主要实时监测乌鲁木齐疾控中心项目变电所内所有配电回路的运行状态。在系统图中可以直观的看到每路10KV配电柜及低压进出线回路的运行参数和状态,如:三相电压、电流、有功功率、无功功率、功率因数、频率等。
历史曲线查询功能,主要对配电回路的历史电压、电流趋势曲线进行查询。
用电量报表功能,可查询各回路用能日报表,具备数据导出和报表打印等功能。为值班人员提供了可靠的电能报表。如下图所示,用户可以直接打印报表,可以以EXCEL格式另存到其他位置。
系统通讯结构示意图,主要显示系统的组网结构,系统采用分层分布式结构,同时监测间隔层设备的通信状态。红色表示通讯正常,绿色表示通讯异常。
4 结束语
在当今配电设施的应用中,建筑的配电安全性至关重要,本文介绍的Acrel-2000电力监控系统在乌鲁木齐疾控中心项目的应用,可以实现对配电所供配电回路用电的实时监控。系统实现对采集数据的分析、处理,实时显示中心配电室内各10KV配电柜回路以及0.4KV低压配电进出线回路的运行状态,对负载越限具有弹出报警对话框、报警声音提示,该系统运行安全、可靠、稳定,保证了建筑的用电可靠度。
审核编辑:汤梓红