全球最实用的IT互联网信息网站!
AI人工智能P2P分享&下载搜索网页发布信息网站地图
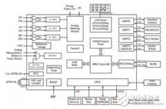
如何设计一款“合格”的智能电表?
阅读全文2013-10-10
基于90E46的单相智能电表设计方案
阅读全文2013-09-27
德州仪器智能数据集中器评估板提供灵活平台,
阅读全文2013-09-24
国产IGBT前景看好,但突破之路颇曲折
智能电网稳定发展,智能电表控制芯片是关键
浅谈智能电网的安全设计
阅读全文2013-09-22
各国政策推波 全球智能电表出货量激增
阅读全文2013-09-18
全球电信运营商挹注动能 物联网应用商机炽热
专家支招:如何优化智能电网电力连接功能
阅读全文2013-09-16
安森美半导体最新的集成从收发器符合M-BUS远程抄
阅读全文2013-09-11
上海贝岭新一代国网电表内置负荷开关驱
车机DAB功能验证方法论及测试三神器简介
泰克示波器+IMDA软件优化光伏发电系统的
【新闻中心】智唤建筑 电联未来|2025年江
CPU | 内存 | 硬盘 | 显卡 | 显示器 | 主板 | 电源 | 键鼠 | 网站地图
Copyright © 2025-2035 诺佳网 版权所有 备案号:赣ICP备2025066733号 本站资料均来源互联网收集整理,作品版权归作者所有,如果侵犯了您的版权,请跟我们联系。