时间:2023-07-21 11:39
人气:
作者:admin
循环肿瘤细胞(CTC,CirculatingTumor Cell)是存在于外周血中的各类肿瘤细胞的统称,因自发或诊疗操作从实体肿瘤病灶(原发灶、转移灶)脱落,大部分CTC在进入外周血后发生凋亡或被吞噬,少数能够逃逸并发展成为转移灶,增加恶性肿瘤患者死亡风险。

原发肿瘤细胞脱落或转移进入血液,形成循环肿瘤细胞
因此CTC的检测具有重要的预后和治疗意义,但由于其数量可能非常少,因此不容易检测到这些细胞。据估计,在已经脱离原发肿瘤的细胞中,只有0.01%能够形成转移。
在转移性癌症患者中,循环肿瘤细胞的频率约为每毫升全血1-10个CTC,而相比之下,一毫升血液中含有几百万白细胞和十亿红细胞。这种低频率导致识别癌细胞十分困难,这意味着理解CTC生物学特性的关键一步是富集、纯化、分离每毫升血液中极少量CTC的技术和方法。

微流控芯片利用惯性和磁力从血液中分离出循环肿瘤细胞

微流控芯片利用惯性从血液中分离出循环肿瘤细胞
为克服这一困难,来自杭州电子科技大学的科研团队结合高精度3D打印和软光刻技术制造了多层微流控芯片,可用于超高通量富集和分离血液中的循环肿瘤细胞,同时能够降低终端流速,便于后续实时阻抗和光学检测,未来有望推动早期癌症的血液筛查。

用于从血液中分离循环肿瘤细胞(CTC)的三层微流控芯片
基于惯性的循环肿瘤细胞收集
研究人员提出了一种用于循环肿瘤细胞(CTC)收集和下游分析的3D堆叠多层惯性微流控分选芯片。该芯片顶部使用梯形螺旋通道分离CTC和血红细胞,然后中间和底部使用两级方形蛇形通道进一步去除RBC并纯化目标样品溶液。
通过整合螺旋通道和蛇形通道降低流速,可以在通道收集出口处应用各种检测方法,例如阻抗检测和成像。因此,多级分拣芯片可以实现高流量输入和低流量输出,满足医疗诊断对吞吐量和检测的要求。

基于三层微流控芯片分离CTC用于后续医学检测
此外,由聚二甲基硅氧烷(PDMS)铸造的3D堆叠结构减少了芯片面积(2cm×3cm),并具有良好的多层观察透明度。性能方面,该3D微流控芯片能够以1.3 mL/min的高流速从大量RBC背景细胞中分离SW480(人结肠癌细胞)、A549(人肺腺癌细胞)和Caki-1(人肾透明细胞癌细胞),分离效率>80%,分离纯度>90%,浓度倍数约为20。
这项工作旨在提供一种可以用于快速医学诊断的检测方法集成的样品处理方法。

螺旋和蛇形通道分离不同尺寸颗粒的原理和示意图
微流控芯片设计、制造及参数优化
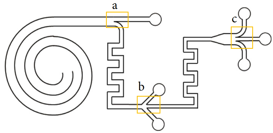
该3D堆叠多级惯性微流体细胞分选芯片集成了梯形螺旋通道和两个方形蛇形通道。梯形螺旋通道具有一个入口和两个出口,是芯片的第一级。在梯形螺旋通道中,流速相对较高,红细胞将集中在外壁附近,而CTC将集中在内壁附近,进而实现CTC与红细胞的分离。不同层的通道按照液体流动方向从上到下排列,整个芯片只有一个入口,无需额外输入鞘流。

多层微流控芯片。(a)(b)(c)分别为第一、第二和第三层。(d)三层叠加。
此外,为了确保通道的所有阶段都能在最佳工作状态下工作,还设计了匹配通道以匹配流动阻力。在自动多级去除红细胞和目标流的减速、聚集和浓缩后,流速从mL/min降至μL/min,这使得与下游检测和分析(如阻抗检测和成像分析)更容易集成。

参数优化过程
概念验证
概念验证实验可以通过分离两种不同尺寸的聚苯乙烯微粒进行。在只有一个单通道注射泵驱动输入样品的情况下,光学显微镜可以捕获通道每一级出口处的分选过程。在每次测试中,将10秒的视频数据作为图像叠加的原始数据。然后,通过ImageJ软件对600张图片的垂直叠加最小化,获得粒子轨迹。

多级通道结构图

基于惯性实现不同尺寸微颗粒的筛选。较大颗粒会保持向前流动,但较小颗粒会被两侧支线分流

组合不同通道结构的各级出口分离效果比较
肿瘤细胞实验
最后,研究者使用肿瘤细胞(SW480、A549和Caki-1)进行了验证。通过使用概念验证实验中所得的最佳工作流速,将配置的血细胞与肿瘤细胞的混合液通入多级芯片结构,对收集口细胞情况进行分析。结果表明,该3D堆叠芯片可以实现了从大量背景细胞中分离多种类型的肿瘤细胞,分离效率>80%,分离效率>90%。

该微流控芯片能有效分离血红细胞(RBC)和循环肿瘤细胞(A549)

芯片用于CTC分选验证(a)红细胞与A549的混合液 (b)废液口(c)收集口(d)SW480、A549和Caki-1在最终出口的叠加轨迹(e)三种CTC的分离效率、分离纯度和浓度倍数
未来与展望
CTC作为肿瘤发生远端转移的关键环节,是肿瘤液体活检的主要材料之一,在肿瘤患者的预后判断、疗效预测、疗效评价、复发转移以及耐药机制的研究中都具有重要的临床意义。
3D堆叠多级微流控芯片设计克服了现有单级芯片中分离纯度、分离效率和吞吐量之间的限制,通过多级流速降低可为下游检测方法的集成提供一个有效的解决方案。
该芯片所提供的样本预处理功能能够较好地满足上下游检测分析的需要,防止交叉污染、减少细胞黏附等传统细胞处理方法中常见的问题,具有较广阔的应用场景,对于肿瘤研究具有重要意义。
审核编辑:刘清
上一篇:进程间通信的几种方法