时间:2022-08-16 14:53
人气:
作者:admin
PLC的组成
PLC种类很多,但结构大同小异,典型的PLC控制系统组成方框图如图3-4所示。在组建PLC控制系统时,需要给PLC的输入端子接有关的输入设备(如按钮、触点、行程开关等),给输出端子接有关的输出设备(如指示灯、电磁线圈、电磁阀等),另外,还需要将编好的程序通过通信接口输入PLC内部存储器,如果希望增强PLC的功能,可以将扩展单元通过扩展接口与PLC连接。

图3-4 典型的PLC控制系统组成方框图
PLC内部主要由CPU、存储器、输入接口、输出接口、通信接口、扩展接口等组成 。
1. CPU
CPU又称中央处理器,它是PLC的控制中心,它通过总线(包括数据总线、地址总线和控制总线)与存储器和各种接口连接,以控制它们有条不紊地工作 。CPU的性能对PLC工作速度和效率有较大的影响,故大型PLC通常采用高性能的CPU。
CPU的主要功能如下。
① 接收通信接口送来的程序和信息,并将它们存入存储器;
② 采用循环检测(即扫描检测)方式不断检测输入接口送来的状态信息,以判断输入设备的状态;
③ 逐条运行存储器中的程序,并进行各种运算,再将运算结果存储下来,然后经输出接口对输出设备进行有关的控制;
④ 监测和诊断内部各电路的工作状态。
2. 存储器
存储器的功能是存储程序和数据。PLC通常配有ROM(只读存储器)和RAM(随机存储器)两种存储器,ROM用来存储系统程序,RAM用来存储用户程序和程序运行时产生的数据 。
系统程序由厂家编写并固化在ROM存储器中,用户无法访问和修改系统程序。系统程序主要包括系统管理程序和指令解释程序。系统管理程序的功能是管理整个PLC,让内部各个电路能有条不紊地工作。指令解释程序的功能是将用户编写的程序翻译成CPU可以识别和执行的程序。
用户程序是用户通过编程器输入存储器的程序,为了方便调试和修改,用户程序通常存放在RAM中,由于断电后RAM中的程序会丢失,所以RAM专门配有的后备电池供电。有些PLC采用EEPROM(电可擦写只读存储器)来存储用户程序,由于EEPROM存储器中的内部可用电信号进行擦写,并且掉电后内容不会丢失,因此采用这种存储器后可不要备用电池。
3. 输入/输出接口
输入/输出接口又称I/O接口或I/O模块,是PLC与外围设备之间的连接部件 。PLC通过输入接口检测输入设备的状态,以此作为对输出设备控制的依据,同时PLC又通过输出接口对输出设备进行控制。
PLC的I/O接口能接受的输入和输出信号个数称为PLC的I/O点数 。I/O点数是选择PLC的重要依据之一。
PLC外围设备提供或需要的信号电平是多种多样的,而PLC内部CPU只能处理标准电平信号,所以I/O接口要能进行电平转换,另外,为了提高PLC的抗干扰能力,I/O接口一般采用光电隔离和滤波处理,此外,为了便于了解I/O接口的工作状态,I/O接口还带有状态指示灯。
(1)输入接口
PLC的输入接口分为开关量输入接口和模拟量输入接口,开关量输入接口用于接受开关通断信号,模拟量输入接口用于接受模拟量信号 。模拟量输入接口通常采用A/D转换电路,将模拟量信号转换成数字信号。 开关量输入接口采用的电路形式较多,根据使用电源不同,可分为内部直流输入接口、外部交流输入接口和外部交/直流输入接口 。三种类型开关量输入接口原理图如图3-5所示。

图3-5 三种类型开关量输入接口原理图
图3-5(a)为内部直流输入接口原理图,输入接口的电源由PLC内部直流电源提供。当闭合输入开关后,有电流流过光电耦合器和指示灯,光电耦合器导通,将输入开关状态送给内部电路,由于光电耦合器内部是通过光线传递,故可以将外部电路与内部电路有效隔离开来,输入指示灯点亮用于指示输入端子有输入。R2、C为滤波电路,用于滤除输入端子窜入的干扰信号,R1为限流电阻。
图3-5(b)为外部交流输入接口原理图,输入接口的电源由外部的交流电源提供。为了适应交流电源的正负变化,接口电路采用了发光管正负极并联的光电耦合器和指示灯。
图3-5(c)为外部直/交流输入接口原理图,输入接口的电源由外部的直流或交流电源提供。
(2)输出接口
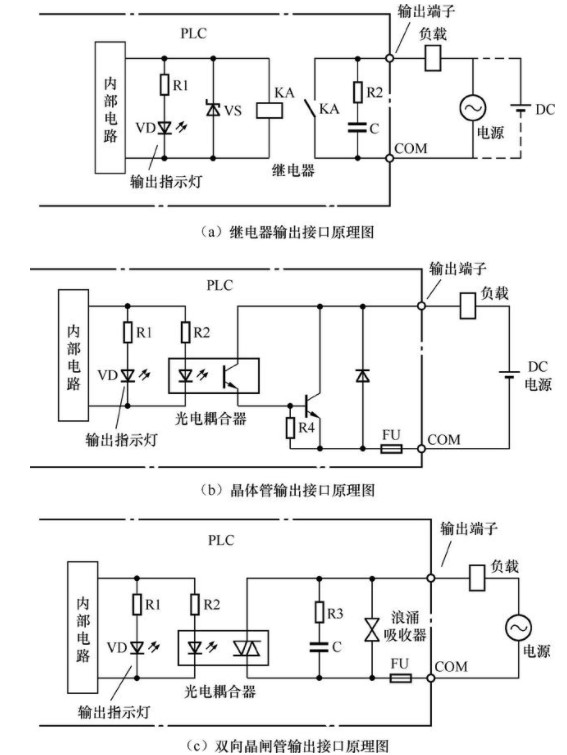
PLC的输出接口也分为开关量输出接口和模拟量输出接口。模拟量输出接口通常采用D/A转换电路, 将数字量信号转换成模拟量信号, 开关量输出接口采用的电路形式较多,根据使用的输出开关器件不同可分为:继电器输出接口、晶体管输出接口和双向晶闸管输出接口 。3种类型开关量输出接口原理图如图3-6所示。
图3-6(a)为继电器输出接口原理图,当PLC内部电路产生电流流经继电器KA线圈时,继电器常开触点KA闭合,负载有电流通过。继电器输出接口可驱动交流或直流负载,但其响应时间长,动作频率低。
图3-6(b)为晶体管输出接口原理图,它采用光电耦合器与晶体管配合使用。晶体管输出接口反应速度快,动作频率高,但只能用于驱动直流负载。
图3-6(c)为双向晶闸管输出接口原理图,它采用双向晶闸管型光电耦合器,在受光照射时,光电耦合器内部的双向晶闸管可以双向导通。双向晶闸管输出接口的响应速度快,动作频率高,通常用于驱动交流负载。

图3-6 三种类型开关量输出接口原理图
4. 通信接口
PLC配有通信接口,PLC可通过通信接口与监视器、打印机、其他PLC、计算机等设备实现通信 。PLC与编程器或写入器连接,可以接收编程器或写入器输入的程序;PLC与打印机连接,可将过程信息、系统参数等打印出来;PLC与人机界面(如触摸屏)连接,可以在人机界面直接操作PLC或监视PLC工作状态;PLC与其他PLC连接,可组成多机系统或连成网络,实现更大规模控制;与计算机连接,可组成多级分布式控制系统,实现控制与管理相结合。
5. 扩展接口
为了提升PLC的性能,增强PLC控制功能,可以通过扩展接口给PLC增接一些专用功能模块, 如高速计数模块、闭环控制模块、运动控制模块、中断控制模块等。
6. 电源
PLC一般采用开关电源供电,与普通电源相比,PLC电源的稳定性好、抗干扰能力强。PLC的电源对电网提供的电源稳定度要求不高,一般允许电源电压在其额定值±15%的范围内波动。有些PLC还可以通过端子往外提供直流24V稳压电源。
PLC的工作方式
PLC是一种由程序控制运行的设备,其工作方式与微型计算机不同,微型计算机运行到结束指令END时,程序运行结束。 PLC运行程序时,会按顺序依次逐条执行存储器中的程序指令,当执行完最后的指令后,并不会马上停止,而是又重新开始再次执行存储器中的程序,如此周而复始,PLC的这种工作方式称为循环扫描方式 。
PLC的工作过程如图3-7所示。

图3-7 PLC的工作过程
PLC通电后,首先进行系统初始化,将内部电路恢复到起始状态,然后进行自我诊断,检测内部电路是否正常,以确保系统能正常运行,诊断结束后对通信接口进行扫描,若接有外设则与其通信。通信接口无外设或通信完成后,系统开始进行输入采样,检测输入设备(开关、按钮等)的状态,然后根据输入采样结果依次执行用户程序,程序运行结束后对输出进行刷新,即输出程序运行时产生的控制信号。以上过程完成后,系统又返回,重新开始自我诊断,以后不断重新上述过程。
PLC有两个工作状态:RUN(运行)状态和STOP(停止)状态 。当PLC工作在RUN状态时,系统会完整执行图3-7过程;当PLC工作在STOP状态时,系统不执行用户程序。PLC正常工作时应处于RUN状态,而在编制和修改程序时,应让PLC处于STOP状态。PLC的两种工作状态可通过开关进行切换。
PLC工作在RUN状态时,完整执行图3-7过程所需的时间称为扫描周期,一般为1~100ms 。扫描周期与用户程序的长短、指令的种类和CPU执行指令的速度有很大的关系。
PLC用户程序的执行过程
PLC的用户程序执行过程很复杂,下面以PLC正转控制线路为例进行说明。图3-8是PLC正转控制线路,为了便于说明,图中画出了PLC内部等效图。

图3-8 PLC正转控制线路
图3-8中PLC内部等效图中的X0、X1、X2称为输入继电器,它由线圈和触点两部分组成,由于线圈与触点都是等效而来,故又称为软线圈和软触点,Y0称为输出继电器,它也包括线圈和触点。PLC内部中间部分为用户程序(梯形图程序),程序形式与继电器控制电路相似,两端相当于电源线,中间为触点和线圈。
用户程序执行过程说明如下。
当按下启动按钮SB1时,输入继电器X0线圈得电,它使用户程序中的X0常开触点闭合,输出继电器Y0线圈得电,它一方面使用户程序中的Y0常开触点闭合,对Y0线圈供电锁定外,另一方面使输出端的Y0常开触点闭合,接触器KM线圈得电,主电路中的KM主触点闭合,电动机得电运转。
当按下停止按钮SB2时,输入继电器X1线圈得电,它使用户程序中的X1常闭触点断开,输出继电器Y0线圈失电,用户程序中的Y0常开触点断开,解除自锁,另外输出端的Y0常开触点断开,接触器KM线圈失电,KM主触点断开,电动机失电停转。
若电动机在运行过程中电流过大,热继电器FR动作,FR触点闭合,输入继电器X2线圈得电,它使用户程序中的X2常闭触点断开,输出继电器Y0线圈失电,输出端的Y0常开触点断开,接触器KM线圈失电,KM主触点闭合,电动机失电停转,从而避免电动机长时间过流运行。
从profibusDP转ModbusTCP,一网打尽转换技巧!