时间:2019-11-29 15:58
人气:
作者:admin
可编程逻辑控制器(PLC)和分布式控制系统(DCS)被用于监测和控制工业自动化应用中的智能(支持 HART)和模拟现场仪器仪表。
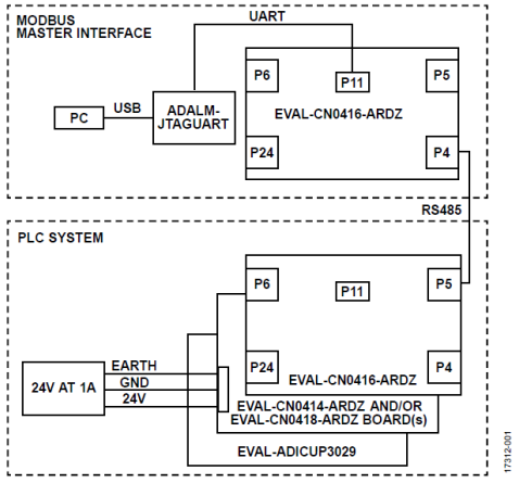
图 1 所示的电路是一个简单的DCS系统,由一台主机、一个单节点、两个 4 通道隔离模拟输入板和两个 4 通道隔离模拟输出板组成,这些板由 Arduino 尺寸基板在本地管控。RS-485 收发器连接至 PC 或其他主机,如此,用户可以使用 Modbus 协议与节点交换数据。
模拟输入数据从本地读取,通过使用行业标准 Modbus 协议的串行接口提供,确保在一系列软件应用和库中,保证数据完整性和可兼容性。同样地,模拟输出通过向 Modbus 寄存器写入来置位,然后被转换为模拟电压或电流信号。
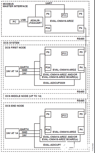
每个节点可以支持 4 个模拟输入和输出板的组合。如图 2 所示,最多 16 个节点的多节点系统在设计时,可以使用提供的硬件和软件基础架构。该电路支持点对点 HART 通信,可以扩展为多分转站 HART 网络,在同一通道上集成多个 HART 器件。
每个板(4 个一组)的模拟输入和模拟输出都实施电气隔离,模拟输入支持开路检测,简化了故障检测和诊断过程。在严峻的工业自动化环境中使用时,这些功能可以增强可靠性和耐用性。

图 1.PLC(或单节点 DCS)Modbus 系统功能框图

图 2. 多节点 DCS Modbus 系统功能框图
电路描述
该应用侧重于展示受 Modbus 主机管控的 PLC/DCS 系统的开发,并且通过示例说明如何使用重要组件的最新功能。单节点系统通常被称为 PLC,更大型的系统则通常被称为 DCS。
每个节点可以管控多达 16 个模拟现场器件、传感器或驱动器(兼容 HART 或仅支持模拟),系统可以扩展,最多包含 16 个单独的节点。该系统也可用于通用精密模拟数据采集应用,例如仪器仪表、模拟数据记录,或测试和测量。
PLC/DCS 拓扑
支持多个连接拓扑。在单节点(PLC,或单节点 DCS)系统中,主机可利用 micro-USB 电缆,直接连接至 EVAL-ADICUP3029 平台板的 USB 串行端口,非常适合要求主机和节点之间距离小于 2 米的实验室测试和测量应用。
在这个点对点拓扑中,电路板四个一组的模拟输入和输出仍然与主机保持隔离。虽然一般来说与实验室设备不相关,但 Modbus 协议提供一种方便、标准的与节点通信的方法。HART 连接支持对智能传感器和驱动器实施配置。
主机和节点之间的距离增大到 2 米以上时,信号完整度、噪音拾取和电气故障会成为更严重的隐患。在这些情况下,EVAL-CN0416-ARDZ 为主机提供可靠的 RS-485 连接。在单节点、点对点系统中,支持在 1 km 以上距离中进行全双工或半双工通信,具体由波特率决定。
对于多节点系统(称为 DCS 更加合适),EVAL-CN0416- ARDZ 提供菊花链端口,支持可切换的半 / 全双工操作和可切换的端电极,因此系统可以集成 2 到 16 个节点。
因为 Modbus 被用作串行通信协议,以通过串行链路,在器件之间发送信息,因此无论规模大小,都可以实现简单、可靠且耐用的系统。PLC/DCS 应用的硬件协议栈包含三个不同的参考设计。
模拟输入板
图 3 所示的 CN-0414 用于测量 4 个全差分信号,或者测量 8 个单端电压和 4 个电流信号。该电路的核心是 AD4111 低功耗、低噪声 24 位Σ-Δ模数转换器(ADC),集成了±10 V 和 20 mA 模拟前端。
其电压输入支持最高±10 V 的输入范围。AD4111 具有独特的特性,支持在±10 V 电压输入上进行开路检测,同时采用 5 V 或 3.3 V 单电源供电,而之前的解决方案一般都需要大于±10 V 的电源。
电流输入支持 0 mA 至 24 mA 输入范围。电路的输入阻抗为 250 Ω(AD4111 内部为 60 Ω),所有输入都以绝缘接地为基准。电流输入上需要 250 Ω输入电阻,以使符合 HART 要求的 AD5700-1 调制解调器可与 AD4111 配合使用。
电路的模拟前端 AD4111 和 AD5700-1 通过 ADuM5411 和 ADuM3151 与处理侧隔离,相比基于分立式变压器的解决方案,能够节省大量空间。
CN-0414 板由 9.5 V 至 36 V 直流电源供电,这在工业自动化系统中非常典型,因此能够轻松集成到您的系统之中。
图 3. 模拟输入板
模拟输出板
图 4 所示的 CN-0418 是一款 4 通道电压和电流输出板,以具备动态功率控制功能的 AD5755-1 DAC 为基础构建。
此电路提供 4 mA 至 20 mA 电流输出,以及单极性或双极性电压输出(±10 V)。此板还配有 AD5700-1 HART 调制解调器,提供完整的支持 HART 连接的模拟输出解决方案。 同时还包括外部瞬变保护电路,这对恶劣工业环境中的应用极其重要。
电流输出和电压输出通过独立引脚提供,一次仅一个输出处于有效状态,因而允许将两个输出引脚连在一起并接到单个端口上。模拟输出受短路和开路保护。
AD5755-1 集成基于 DC-DC 升压转换器电路的动态电源控制功能,在电流输出模式下可降低功耗。
AD5755-1 有四个 CHART 引脚,分别对应于四个输出通道。HART 信号可以耦合至这些引脚,并出现在对应的输出端(如果该输出已使能)。
图 4. 模拟输出板
RS-485 收发器板
图 5 所示的 CN-0416 是一款隔离和非隔离式 RS-485 收发器板,能够在多个系统或节点之间轻松实施数据传输,尤其是在长距离下。
该电路使用 ADM2682E RS-485 收发器来进行隔离通信,使用 LTC2865 RS-485 来进行非隔离通信。 这两种器件都可以配置进行全双工或半双工操作,具备开路或端接传输线。
该电路采用板载式 RJ-45 插孔,因此能够使用常用的 CAT5 以太网电缆,快速和节点物理连接。端电极电阻被默认设置为 CAT5 电缆的特性阻抗 100 Ω,但在配置之后,可以支持标准 RS-485 电缆的 120 Ω阻抗。
ADM2682E 的数据速率可以达到 16 Mbps,提供真正安全的接收器输入和经过调整的差动电压阈值。它使用 iCoupler 数据通道,提供 5 kV 信号隔离,利用 isoPower 集成式 DC-DC 转换器,提供 5 kV 电源隔离。
LTC2865 的数据速率可以达到 20 Mbps,提供真正安全的接收器输入。由一个内部窗口比较器确定安全状况,无需调节差动输入电压阈值。

图 5.RS-485 收发器板
兼容 HART 的现场器件的接线

图 6. 兼容 HART 的现场器件的接线
HART 网络
HART 器件可在点对点或多分转站这两种网络配置中的一种运行。
在点对点模式下,4 mA 至 20 mA 信号被用于传输一个过程变量,而额外的过程变量、配置参数和其他器件数据则通过 HART 协议以数字方式传输。4 mA 至 20 mA 模拟信号不会受到 HART 信号影响,可用于实施控制。HART 协议提供访问辅助变量和其他数据的权限,这些数据可用于实施操作、调试、维护和诊断。
Modbus 协议
在 EVAL-ADICUP3029 上运行的软件采用 Modbus 协议——一种事实上的开放型工业通信标准。Modbus 提供一种与单个节点交换数据的可靠方式,通过 CRC 误差检测来确保数据的完整性。作为一项开放标准,存在众多可用的开放源和商用 Modbus 软件库,适用于各种平台(例如 Windows®、Linux®、嵌入式平台等)。
这些软件也提供简单的命令行接口(CLI)模式,使系统能够从串行端口手动验证,无需主机上装载任何额外的软件。
硬件和软件协议栈
PLC/DCS 节点系统软件和硬件协议栈如图 7 所示。

图 7.PLC/DCS 节点系统软件和硬件协议栈
配置 PLC/DCS 硬件之后,用户一般会根据语言(例如 C、Python、MATLAB)和主机平台(例如 Linux、Windows、嵌入式平台)选择适用的 Modbus 库。然后,必须编写简单的测试应用程序,将模拟和 HART 参数转化为 Modbus 寄存器地址和值。
CN-0435 用户指南提供此应用程序的 Modbus 寄存器映射的完整描述,并使用开源 Modbus 调试器来验证 Modbus 的合规性。
此外,还提供多个基于开源 Modbus 库的顶层应用,包括:
检测系统配置:查询所有 Modbus 节点,显示配置。
读写输出保持寄存器:检查或更改所有受检测板的输出保持寄存器的状态。
读取模拟输入寄存器:检查所有受检测板的输入寄存器的状态。
读取模拟数据:读取单个模拟输入或所有模拟输入,在控制台显示数据。
写入模拟数据:写入模拟输出,以产生电压或电流。
模拟回波:读取模拟输入板的模拟电压或电流,然后将相同数值的模拟电压或电流写入模拟输出板。
常见变化
CN-0435 软件读取模拟输入值和写入模拟输出值,无需实施本地处理。该软件可以扩展包含故障检测和响应等功能,或者包含闭环 PID 控制环路,从主机上卸载这些功能,节省通信总线的带宽。
树莓派可以用作结构紧凑、价格低廉的主机解决方案。树莓派提供有线或无线以太网连接,可以直接连接至 EVAL-ADICUP3029 的 USB-UART。
如今最常用的三种 Modbus 版本分别为:Modbus ASCII、Modbus RTU 和 Modbus TCP。所有 Modbus 消息都采用相同格式发送。这三种 Modbus 类型的唯一区别在于消息的编码方式。
可以通过 Modbus 连接的器件的数量由物理层和数据协议决定。如果 RS-485 物理层和 Modbus RTU 或 Modbus ASCII 数据协议一起使用,那么可以寻址的节点的最大数量为 32,但是,如果以太网物理层和 Modbus TCP 数据协议一起使用,则可以寻址的节点为 247 个。
器件的地址是从 0 至 247 的数字。发送至地址 0 的消息(广播消息)会被所有从机接受,但 1 到 247 这些数值是特定器件的地址。
CN-0414 和 CN-0418 的 Arduino 尺寸确保与支持广泛的其他自动化通信协议的开发平台兼容,包括过程现场网(PROFINET)、过程现场总线(PROFIBUS)、控制自动化技术的以太网(EtherCAT)、EtherNet/IP、Modbus Plus,以及其他协议。
责任编辑;zl
从profibusDP转ModbusTCP,一网打尽转换技巧!