全球最实用的IT互联网站!
人工智能P2P分享搜索全网发布信息网站地图标签大全
日常生活中常用到的接口介绍
阅读全文2020-10-22
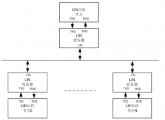
初学者如何快速学习LIN 总线(应用/分类/LIN报文
使用MQTT作为进程间通信的方式
并行总线和高速串行总线的布线要求
阅读全文2020-10-21
将TTl电平转换为USB电平的eCH340 USB转换串口电路设
阅读全文2020-10-20
聊一聊雷电(Thunderbolt)接口的前世今生及未来
关于显示器的Type-C 你了解多少
一文详解雷电接口的前世今生
关于接口测试原理案例分析
阅读全文2020-10-19
LIN总线接口信号_LIN总线帧类型
博世CAN SIC XL收发器ASIC NT156介绍
力特奥维斯Littelfuse解读设计高可靠性的汽
RS485接口电路设计全面指南:从基础到实
如何使用ZPS-CANFD进行CAN信号质量评估?
CPU | 内存 | 硬盘 | 显卡 | 显示器 | 主板 | 电源 | 键鼠 | 网站地图
Copyright © 2025-2035 诺佳网 版权所有 备案号:赣ICP备2025066733号 本站资料均来源互联网收集整理,作品版权归作者所有,如果侵犯了您的版权,请跟我们联系。