全球最实用的IT互联网站!
人工智能P2P分享搜索全网发布信息网站地图标签大全
USB Type-C接口的优缺点分析
阅读全文2019-05-06
USB-IF正式发布了USB Type-C认证方案
基于12位串行ADC与PC之间的接口电路设计
Type-A接口改成Type-c接口的实验设计
阅读全文2019-05-05
晶片商开发的整合型Type-C晶片将会成为下一大发
USB接口标准分析总结
阅读全文2019-04-30
USB Type-C与USB3.1有哪些不同的地方
联发科发布出新一代可透过USB Type-C介面进行手机
阅读全文2019-04-29
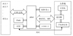
基于CAN总线的远程电表抄表系统集中器设计
未来USB Type-C将成为各装置唯一的传输介面连接埠
阅读全文2019-04-28
博世CAN SIC XL收发器ASIC NT156介绍
力特奥维斯Littelfuse解读设计高可靠性的汽
RS485接口电路设计全面指南:从基础到实
如何使用ZPS-CANFD进行CAN信号质量评估?
CPU | 内存 | 硬盘 | 显卡 | 显示器 | 主板 | 电源 | 键鼠 | 网站地图
Copyright © 2025-2035 诺佳网 版权所有 备案号:赣ICP备2025066733号 本站资料均来源互联网收集整理,作品版权归作者所有,如果侵犯了您的版权,请跟我们联系。