全球最实用的IT互联网信息网站!
AI人工智能P2P分享&下载搜索网页发布信息网站地图
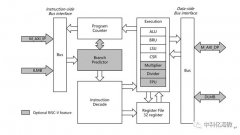
车机的内部硬件结构有哪些
阅读全文2023-08-18
LCD残像的基础知识
立锜车载PD快充产品常见问题解答—兼具 USB PD 和
MicroBlade 串口设计
eDP接口的PCB布局布线要求
微型导轨怎么保养?
阅读全文2023-08-17
Feign第一次调用为什么会很慢?
倍思45W T-Space拓展坞拆解报告
后摩智能首款RRAM大容量存储芯片完成测试验证
I2C总线的工作原理和功能特点
博世CAN SIC XL收发器ASIC NT156介绍
力特奥维斯Littelfuse解读设计高可靠性的汽
RS485接口电路设计全面指南:从基础到实
如何使用ZPS-CANFD进行CAN信号质量评估?
CPU | 内存 | 硬盘 | 显卡 | 显示器 | 主板 | 电源 | 键鼠 | 网站地图
Copyright © 2025-2035 诺佳网 版权所有 备案号:赣ICP备2025066733号 本站资料均来源互联网收集整理,作品版权归作者所有,如果侵犯了您的版权,请跟我们联系。