时间:2023-06-13 18:00
人气:
作者:admin
Bien Javier 和 Jefferson Eco
本文介绍一种软件可配置输入/输出(I/O)器件及其专用隔离电源和数据解决方案,该解决方案有助于应对传统模拟信号与工业以太网的桥接挑战。本文阐明了软件可配置I/O器件固有的通道灵活性、故障检测和诊断功能方面的优势。本文还给出了系统级评估结果,展示了系统解决方案的整体优势,包括系统稳健性和功耗。
引言
工业以太网的进步使得工厂的智能互联制造成为可能。现场仪器仪表必须使用传统模拟信号(即4至20 mA、0 V至10 V)连接到以太网域。这对固定功能的I/O模块提出了挑战。系统设计人员需要设计多个模块来覆盖不同的传感器和执行器。然而,固定功能模块中的某些通道可能未被使用,成为多余通道。软件可配置I/O模块支持有效使用I/O系统中的所有通道。拥挤的布线可能导致传感器和执行器与这些固定功能I/O的连接不正确。调试和排除这些故障非常耗时,并且需要手动将负载重新连接到I/O通道。
软件可配置I/O系统提供从传统模拟信号到工业以太网域的无缝过渡。软件可配置I/O器件可通过远程配置在任意通道上提供任意功能(模拟I/O、数字I/O、RTD),有助于简化调试。这种灵活性与诊断功能相结合,支持远程故障排除,从而节省技术人员的时间和精力。图1显示了工业连接从传统模拟信号到智能数字连接传感器的演变,而软件可配置I/O支持无缝过渡。

图1. 软件可配置I/O将传统器件桥接到以太网
ADI公司的 AD74413R 软件可配置I/O与 ADP1032 2通道隔离式微功耗管理单元(µPMU)的结合,是稳健的软件可配置I/O解决方案的一个范例。AD74413R是一款四通道软件可配置I/O,具备自动故障检测和诊断功能。ADP1032专为AD74413R量身定制,提供隔离电源和数据通道,从而实现紧凑型隔离式软件可配置I/O系统。
通道灵活性
对于I/O要求各异的不同工业应用,系统设计人员需要一种支持快速配置以适应需求的灵活系统。AD74413R的四个通道可配置为不同输入和输出模式,例如:
高阻抗
电压输入
电压输出
外部供电的电流输入
环路供电的电流输入
电流输出
数字输入逻辑
环路供电的数字输入
RTD测量
需要一组外部分立元件来支持四个通道中任何一个通道上的任何功能,从而提供充分的灵活性。如果执行器或传感器接线错误,可利用单个SPI重新配置该通道。
在单个封装中提供所有功能可减少硬件设计的元件需求,进而带来如下好处:
装配和测试成本更低
可靠性更高,调试更轻松
简化采购工作
与通用I/O的分立式方案相比,通道密度更高
图2显示了支持AD74413R所有功能所需的外部元件,无论连接的负载是什么。

图2. AD74413R及支持所有功能所需的外部元件
故障检测和诊断功能
AD74413R具备自动故障检测和多种诊断功能,有助于定位故障。在故障情况下,ALERT引脚置为有效,可用来中断微控制器。然后,用户可查询警报寄存器以确定故障的确切原因。用户还可以使能诊断信号以进一步诊断所识别的故障。

图3. 软件可配置I/O故障检测
AD74413R可检测到如下故障:
复位
校准存储器错误
SPI CRC错误
ADC错误
电源错误
温度错误
开路/短路错误
这些功能允许用户远程排除系统中发生的任何故障。在现有许多系统中,传感器和执行器可能位于远离控制室的潜在危险区域。此外,拥挤的布线也可能导致难以确定哪些电缆连接到哪个传感器或执行器,使得这些系统的重新接线成本高昂且耗时。AD74413R模块提供可配置能力和诊断功能,可确定哪个传感器或执行器连接到哪个特定通道。
隔离电源和数据解决方案
分立式方案
AD74413R的分立式隔离电源解决方案需要多个元件,如图4所示。使用单独的隔离器来提供电源和数据隔离。元件数量增加带来了电路板面积较大的问题。

图4. AD74413R分立电源解决方案框图
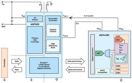
ADP1032解决方案
图5显示了由ADP1032供电的AD74413R的框图。ADP1032有两个隔离稳压轨和七个数据隔离通道,这些全都在一个封装中,可满足隔离电源和数据通道的要求。与分立式电源和数据隔离解决方案相比,上述方案的电路板面积减少约3倍。因此,客户可以提高其模块中的整体通道密度。AD74413R的四个SPI信号使用ADP1032的高速隔离数据通道,这些通道经过优化,提供15 ns的低传播延迟,支持高达16.6 MHz的SPI时钟速率。在时序要求不那么严格的地方使用低速隔离数据通道,如LDAC、RESET和ALERT信号。

图5. 由ADP1032供电的AD74413R框图
系统可靠性
AD74413R系统解决方案能够在恶劣的工业环境中保持稳健,并提供以下保护特性:
螺丝端子上的TVS(用于防止浪涌事件)
面朝螺丝端子的引脚可承受±50 V DC及更高的电压(针对瞬态事件)
在接线错误的情况下,无法从螺丝端子向器件供电
SPI CRC和SCLK计数特性确保不会发生错误的SPI事务。此外,ADP1032为AD74413R的两个正轨提供隔离电源,并隔离四个SPI信号和三个GPIO信号的数据。对于2级污染,ADP1032提供高达300 V的基本隔离。ADP1032的电源和数据通道的电气隔离保护系统免受高压瞬变的影响,降低接地环路的噪声,并确保人身安全。

图6. ADP1032 + AD74413R软件可配置I/O系统的稳健性
ADP1032和AD74413R作为一个完整系统进行测量和验证,符合CISPR11 B类电磁辐射骚扰水平,裕量大于6 dB,如图7所示。

图7. AD74413R + ADP1032电磁辐射骚扰通过CISPR Class-B
功耗
灵活的多通道系统要求权衡系统功耗,因为AD74413R软件可配置I/O的每个通道都可以配置为不同模式,而AD74413R的电源则保持单一输出电压。设计人员必须选择最高的AD74413R AVDD电源电压,以便在考虑所需电压裕量和负载特性的情况下支持最坏使用场景,确保每种模式都能正常运行。考虑AD74413R处于电流输出模式、负载电阻为600 Ω、输入电流范围高达20 mA的使用场景,这意味着螺丝端子上的最大输出电压为12 V。根据AD74413R数据手册,电流输出模式所需的裕量电压为4.6 V。将裕量电压与最大输出电压相加得到16.6 V,这是AD74413R在电流输出模式下所需的最小AVDD电源电压。对于其他输入和输出模式,应进行相同的AVDD电源电压计算,并且必须将得到的最高AVDD电压用作ADP1032 VOUT1的输出。
为了计算ADP1032 + AD74413R的系统功耗,可以将整个系统视为一个黑盒,然后从提供给系统的输入功率(PIN)中减去提供给负载的输出功率(POUT)即可,如图8所示。系统功耗包括ADP1032电源转换的损耗、AD74413R静态电流、数字通道隔离器的静态电流以及AD74413R输出路径中的损耗(尤其是所需的裕量)。图9显示了AD74413R的所有四个通道配置为相同工作模式和相同负载特性时的系统功耗。在本例中,为AD74413R AVDD供电的ADP1032 VOUT1输出设置为16.6 V,假设支持所有不同工作模式以及预定义的负载和输入输出条件。ADP1032的输入电源为24 V。电流输出模式的系统功耗更差,但在四个通道以满量程输出工作时,功耗仍小于1 W,如图9所示。功耗受AD74413R的输入和输出电平以及负载的影响很大。

图8. ADP1032 + AD74413黑盒示意图

图9. AD74413R + ADP1032系统针对不同工作模式和负载的功耗(所有四个通道配置相同),ADP1032输入电源 = 24 V。
选择ADP1032的输入电源(VINP)时须谨慎。ADP1032 VINP的选择将决定提供给AD74413R的ADP1032最大输出电流。图10显示了在整个VINP范围内,ADP1032对于各种VOUT1设置的最大输出电流。为ADP1032选择的输入电源必须能够支持AD74413R在较差情况下的电流需求,例如在输出电流模式下,所有四个通道都驱动20 mA的最大输出电流时。

图10. 在整个输入电源电压范围内,ADP1032 VOUT1在不同输出电压下的最大输出电流
结论
工厂的数字化带来了产量、工厂利用率和劳动生产率的提高。然而,向数字化工厂的过渡并非易事,因为传统系统缺乏支持10BASE-T1L的传感器和执行器。AD74413R软件可配置I/O与ADP1032相结合,填补了支持以太网的现场仪器仪表的空白。AD74413R的四个通道非常灵活,每个通道都可以编程为八种不同的I/O配置。其故障检测和诊断功能可节省排错和系统调试的时间。诊断功能还可用于监视系统以进行维护。最后,ADP1032对数据和电源进行电气隔离,确保电源和数据安全高效传输。
审核编辑:郭婷