时间:2023-03-15 15:31
人气:
作者:admin
PLC是可编程序控制器的简称,它是能够编程的器件,功能强大,广泛应用于各种自动化场景中。 凡是含有PLC的电路,都可以称之为PLC电路。 当然,有些PLC电路简单,有些PLC电路复杂,完成的功能也各不相同。
一、简单的PLC电路(输入输出外接元件少、程序简单)

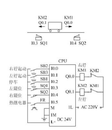
1、说明:
本电路是PLC控制小车往返运动的PLC外部接线图(西门子smart200),输入端起动和停止按钮节SB1、SB2、SB3分别接I0.2、I0.0、I0.1,限位开关和热继电器SQ1、SQ2、FR分别接I0.3,I0.4,I0.5。 输出Q0.0和Q0.1分别接继电器KM1和KM2。 通过PLC编程,主要完成小车的自动往返控制。
2、程序:

二、复杂的PLC控制电路

1、说明:
PLC的输入端连接了急停开关、起动、停止开关、传感器、还有机器人和相机传过来的输出信号; 输出端连接指示灯、电磁阀(电磁阀控制气缸运动)、还把输出信号输出给机器人和相机。
2、程序

如图所示程序节选,PLC输出信号给机器人,M10.1、M10.2、M10.3、M10.4可以控制输出状态。 事先约定PLC和机器人通信代码,比如机器人收到PLC发送的1111代码做码垛程序,或者收到1100代码做搬运程序等等。 PLC发出4位代码,可以输出16种状态; 同理,PLC接收机器人传过来的信号后,也可以根据相应代码,处理不同事情。
三、画PLC电路原则
NPN输入的PLC,输入端的器件一端接PLC,另一端要接地; PNP的PLC,输入端的器件一端接PLC,另一端要接直流24V。 输出端与输入端方法一致。