时间:2022-09-19 11:36
人气:
作者:admin
计算折合到电机上的负载转矩的方法如下
1、水平直线运动轴:

2、垂直直线运动轴:

3、旋转轴运动:

2负载惯量计算
与负载转矩不同的是,只通过计算即可得到负载惯量的准确数值。不管是直线运动还是旋转运动,对所有由电机驱动的运动部件的惯量分别计算,并按照规则相加即可得到负载惯量。由以下基本公式就能得到几乎所有情况下的负载惯量:
1、柱体的惯量

2、运动体的惯量

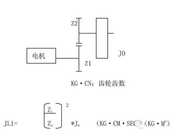
3、 有变速机构时折算到电机轴上的惯量

3运转功率及加速功率计算
在电机选用中,除惯量、转矩之外,另一个注意事项即是电机功率计算。一般可按下式求得:

编辑:黄飞
上一篇:新型开关磁阻电机及其拓扑结构