时间:2022-09-19 12:05
人气:
作者:admin
你知道“凌波微步”吗?它是武侠小说中一种精妙绝伦的轻功,想要修炼这种轻功的前提是必须拥有深厚的内力。练习武功如此,电子半导体亦是如此,只有积累大量的经验和技术沉淀,才能做出一款经久耐用的产品。
东芝在电机驱动这方面就下足了功夫,将步进电机驱动芯片做了创新,新增了高级动态混合衰减(ADMD)技术,给步进电机赋予了“凌波微步”的能力,它就是TB67S109AFTG!该芯片的另一个优势是体积较小,效率高,而且附加功能较多,为广大工程师后续的电机驱动选型和应用提供了更灵活的选择。
01 电气特性分析
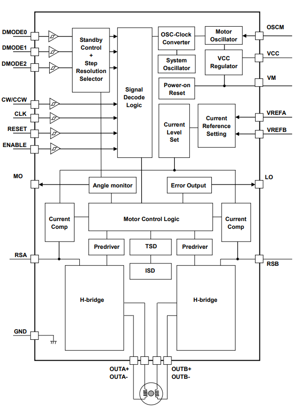
东芝TB67S109AFTG是一种配备了PWM斩波器的2相双极步进电机驱动器。其内置时钟解码器,同时采用BiCD工艺制造,能提供大电流能力,其工作状态下的额定值为50V/4A;同时TB67S109AFTG具有高精确度驱动能力,最高32细分,采用东芝高级动态混合衰减(ADMD)技术,可以适应高速电机驱动需求。另外,TB67S109AFTG内部集成的5V稳压器,可满足单电源供电要求。
具体参数如下:
BiCD工艺集成式单片IC。
具有内置时钟解码器。
能够控制1台双极步进电机。
由PWM控制的恒流驱动。
允许全步,半步,1/4,1/8,1/16,1/32步运行。
低导通电阻(高边+低边=0.49Ω(典型值))MOSFET输出级。
采用高级动态混合衰减(ADMD)技术。
具有50V高电压与4A大电流平稳输出。
错误检测(TSD/ISD)信号输出功能。
内置错误检测电路(热关断(TSD),过流关断(ISD),以及上电复位(POR))。
内置VCC调节器供内部电路使用。
可通过外电阻与电容自定义电机的斩波频率。
多封装产品线:
TB67S109AFTG:P-WQFN48-0707-0.50-003;
TB67S109AFNG:HTSSOP48-P-300-0.50。
注:在使用期间,请注意散热条件。

02 功能特性分析
采用高级动态混合衰减(ADMD)技术,动态调整混合衰减比例,优化步进电机高速电流驱动。如下图所示,在高速电流驱动状态下,传统的方式可能会发生失步现象(图左),而ADMD则可以实现精准的控制(图右)。采用ADMD技术能够实现更紧密的输入电流跟踪,从而进一步强化了高转速条件下的高效电机控制。

采用BiCD工艺制造有助于降低电路内部的功耗。驱动MOSFET低导通电阻(高边+低边典型值0.49Ω(典型值)),能够有效降低驱动IC的发热,与此同时采用QFN48封装还可以缩减驱动电路的PCB面积,降低生产成本。
错误检测标识输出功能:TB67S109AFTG具有错误检测功能,当驱动芯片检测到发生热关断(TSD)、过流(ISD)时就会触发错误检测标识输出功能,从LO引脚将低电平信号输出到外围模块,实现快速处理故障操作。

03 应用场景
TB67S109AFTG因其优异的驱动性能和技术被广泛应用于办公自动化设备,商业及工业设备,包括机器人和打印机等。
东芝半导体在电机驱动IC有着非常丰富的研发经验,经过对技术的不断积累与沉淀,在电机驱动IC上不断地“修炼”,让电机驱动IC的性能能够“惊艳群芳”。在未来电机驱动方面的产品选型和参考中,东芝也会持续为您提供更多服务与产品~
审核编辑:汤梓红
上一篇:步进电机的工作原理及应用场景
下一篇:三相交流伺服电机十种常见故障