时间:2009-07-03 12:17
人气:
作者:admin
什么是双速电机
双速电机属于异步电动机变极调速,是通过改变定子绕组的连接方法达到改变定子旋转磁场磁极对数,从而改变电动机的转速。
双速电机的变速原理
电机的变速采用改变绕组的连接方式,也就是说用改变电机旋转磁场的磁极对数来改变它的转速。
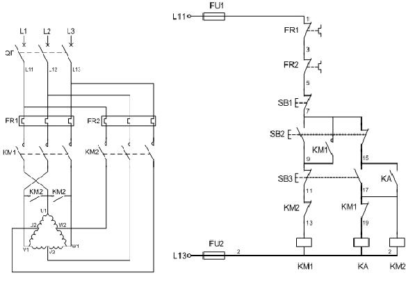
双速电机(风机),平时转速低,有时风机就高速转,主要是通过以下外部控制线路的切换来改变电机线圈的绕组连接方式来实现。
1、在定子槽内嵌有两个不同极对数的共有绕组,通过外部控制线路的切换来改变电机定子绕组的接法来实现变更磁极对数;
2、在定子槽内嵌有两个不同极对数的独立绕组;
3、在定子槽内嵌有两个不同极对数的独立绕组,而且每个绕组又可以有不同的联接。
双速电机控制电路图

上一篇:继电器触发器电路图
下一篇:通用VVVF变频器的原理图