时间:2023-04-10 09:45
人气:
作者:admin
PLC自动工位所使用的条形光栅是我们经常使用的一种人工上件的安全控制设备.
人员进入传输货架卸垛区域时,所有危险的机器人移动必须停止。如果货架发生变化或人员穿过光幕,则光幕随即中断,机器人即刻关闭。此外,外部还需采用重启互锁。
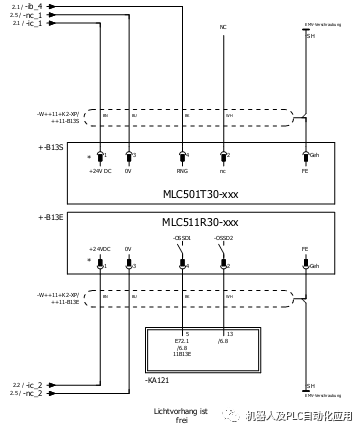
条形光栅接线示意图:

发射端的引脚配置:



接收端的引脚配置:



自动工位图纸中光栅的接线示意图:


双通道检测介入到ET200S上的安全输入点.
条形光电的安全设置

因为安全光电,带有电子式输出,
带有 OSSD(输出信号开关装置)输出的传感器具有集成交叉电路/短路检测功能。因此,必须在分析单元上将这种功能禁用,即使用”外部供电方式”.
光栅不能使用”短路测试”, 即使用”外部供电方式”.


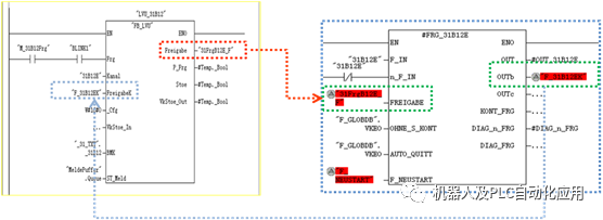
VASS标准功能块FB 128 FB_LVU:



本模块可以发送光幕释放信号,激活光幕指示灯(受到干预时闪烁,DL 到达状态),以通过可视化功能显示通道和释放装置。
FB128的控制方式:


审核编辑:刘清
上一篇:焊接机器人常见故障及解决方法
下一篇:KUKA机器人中阵列的概念解析