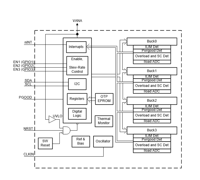
LP875701-Q1 器件旨在满足各种汽车电源应用中最新处理器和平台的电源管理要求。该器件包含 4 个降压 DC/DC 转换器内核,在 forced-PWM 模式下配置为 4 相输出。该设备由 I 控制^2^C 兼容串行接口和 BY 使能信号。
*附件:lp875701-q1.pdf
LP875701-Q1 支持多相输出的远程差分电压感应,以补偿稳压器输出和负载点 (POL) 之间的 IR 压降,从而提高输出电压的精度。开关时钟可以强制到 PWM 模式,也可以与外部时钟同步,以最大限度地减少干扰。
LP875701-Q1 器件支持负载电流测量,无需添加外部电流检测电阻器。LP875701-Q1 器件还支持可编程的启动和关断延迟以及同步序列以启用信号。这些序列还可以包括 GPIO 信号,用于控制外部稳压器、负载开关和处理器复位。在启动期间,该器件控制输出转换速率,以最大限度地减少输出电压过冲和浪涌电流。
特性
- 适用于汽车应用
- 符合 AEC-Q100 标准,结果如下:
- 器件温度 1 级:-40°C 至 +125°C 环境工作温度
- 器件 HBM ESD 分类 2 级
- 器件 CDM ESD 分类等级 C4B
- 输入电压:2.8 V 至 5.5 V
- 输出电压:1.0 V
- 4 个高效降压型 DC/DC 转换器内核:
- 开关频率: 3 MHz
- 扩频模式和相位交错
- 可配置的通用 I/O (GPIO)
- 我^2^C 兼容接口,支持标准 (100 kHz)、快速 (400 kHz)、快速+ (1 MHz) 和高速 (3.4 MHz) 模式
- 具有可编程掩码的中断功能
- 可编程电源正常信号 (PGOOD)
- 输出短路和过载保护
- 超温警告和保护
- 过压保护 (OVP) 和欠压锁定 (UVLO)
参数

方框图

1. 概述
LP875701-Q1是一款专为汽车应用设计的四相3MHz 1V 10A DC/DC降压转换器,集成了四个高效率的降压转换器核心。该器件支持AEC-Q100认证,适用于汽车信息娱乐系统、仪表板、雷达和摄像头电源等应用。
2. 主要特性
- 输入电压范围:2.8V至5.5V
- 输出电压:1.0V
- 最大输出电流:10A(每相2.5A)
- 开关频率:3MHz
- 多相操作:四相并联输出,可配置为单输出四相模式
- 高效能:采用同步整流和电流模式控制,提供高效率
- 保护功能:包括输出短路和过载保护、过温警告和保护、输入过压保护(OVP)和欠压锁定(UVLO)
- 可编程特性:支持输出电压调节、软启动、电源良好信号(PGOOD)等可编程特性
- I²C接口:支持标准(100kHz)、快速(400kHz)、快速+(1MHz)和高速(3.4MHz)模式
- GPIO功能:可编程通用输入输出引脚
3. 应用
- 汽车信息娱乐系统电源
- 汽车仪表板电源
- 汽车雷达系统电源
- 汽车摄像头模块电源
4. 功能描述
- 多相转换器:四个降压转换器核心并联工作,提供高达10A的输出电流。
- 同步整流:采用同步整流技术,提高转换效率。
- 软启动:支持可编程软启动,限制启动时的浪涌电流。
- 电源良好信号:提供可编程的电源良好信号,用于指示输出电压是否稳定。
- 保护功能:包括输出电流限制、短路保护、过温警告和保护、输入过压保护等。
- GPIO功能:EN1、EN2、EN3引脚可配置为GPIO,实现额外的控制功能。
5. 封装与订购信息
- 封装类型:26引脚VQFN-HR封装,尺寸为4.5mm×4.0mm
- 环境温度范围:-40°C至+125°C
- 订购信息:提供多种封装和温度等级选项,如LP875701ARNFRQ1(活性状态)
6. 文档与支持
- 提供详细的数据表、应用指南和布局指南。
- TI E2E™在线社区提供技术支持和讨论。
7. 布局指南
- 推荐使用多层PCB设计,以优化热性能和减少噪声干扰。
- 输入和输出电容应尽可能靠近器件放置,以减小寄生电感和电阻。
- 反馈引脚应远离噪声源,如PGND、VIN和SW引脚。
LP875701-Q1是一款功能强大、高效可靠的四相降压DC/DC转换器,专为满足汽车应用的严格电源管理要求而设计。