LP8752x-Q1 器件旨在满足各种汽车电源应用中最新处理器和平台的电源管理要求。该器件包含 4 个降压 DC/DC 转换器内核,可配置为 4 相输出、3 相和 1 相输出、2 相和 2 相输出、1 个 2 相和 2 个 1 相输出,或 4 个 1 相输出。该设备由 I 控制^2^C 兼容串行接口和 BY 使能信号。
*附件:lp87523-q1.pdf
自动脉宽调制 (PWM) 到脉冲频率调制 (PFM)作(AUTO 模式)以及自动相位添加和切相功能,可在较宽的输出电流范围内最大限度地提高效率。LP8752x-Q1 支持多相输出的远程差分电压感应,以补偿稳压器输出和负载点 (POL) 之间的 IR 压降,从而提高输出电压的精度。开关时钟可以强制到 PWM 模式,也可以与外部时钟同步,以最大限度地减少干扰。
LP8752x-Q1 器件支持负载电流测量,无需添加外部电流检测电阻器。该器件还支持可编程启动和关断延迟以及同步序列以启用信号。这些序列可以包括 GPIO 信号,用于控制外部稳压器、负载开关和处理器复位。在启动和电压变化期间,该器件控制输出转换速率,以最大限度地减少输出电压过冲和浪涌电流。
特性
- 适用于汽车应用
- 符合 AEC-Q100 标准,结果如下:
- 器件温度 1 级:-40°C 至 +125°C 环境工作温度
- 器件 HBM ESD 分类 2 级
- 器件 CDM ESD 分类等级 C4B
- 输入电压:2.8 V 至 5.5 V
- 输出电压:0.6 V 至 3.36 V
- 4 个高效降压型 DC/DC 转换器内核:
- 开关频率: 2 MHz
- 扩频模式和相位交错
- 可配置的通用 I/O (GPIO)
- 我^2^C 兼容接口,支持标准 (100 kHz)、快速 (400 kHz)、快速+ (1 MHz) 和高速 (3.4 MHz) 模式
- 具有可编程掩码的中断功能
- 可编程电源正常信号 (PGOOD)
- 输出短路和过载保护
- 超温警告和保护
- 过压保护 (OVP) 和欠压锁定 (UVLO)
参数

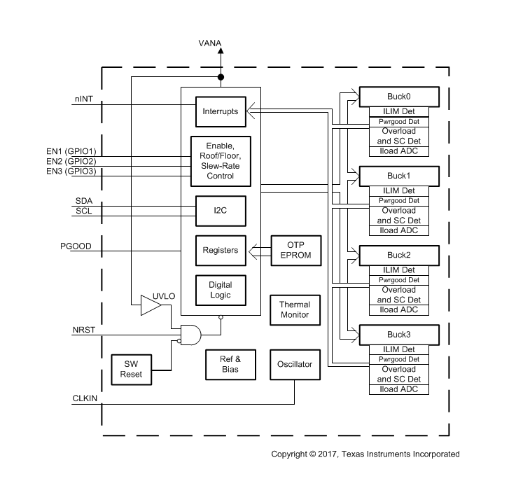
方框图

1. 概述
LP87523-Q1是一款专为汽车应用设计的四路高效降压DC/DC转换器,集成了四个开关核心,可配置为多种输出模式,包括两路2相和两路1相输出。该设备通过I2C接口进行控制,并支持多种保护功能,如过温保护、过压保护等。
2. 主要特性
- 高效率:最大输出电流可达10A,支持PWM和PFM模式自动切换。
- 多相输出:可配置为两路2相和两路1相输出,满足不同应用需求。
- I2C接口:支持标准(100kHz)、快速(400kHz)、快速+(1MHz)和高速(3.4MHz)模式。
- 可编程功能:包括软启动、负载电流测量、输出电压监测等。
- 保护特性:过温保护、过压保护、欠压锁定、短路保护、过载保护等。
- 热警告:当结温超过设定阈值时,发出热警告中断。
3. 电气特性
- 输入电压范围:2.8V至5.5V。
- 输出电压范围:0.6V至3.36V,具有可编程的电压步长。
- 最大输出电流:每路最大10A,总输出电流不超过10A。
- 效率:在宽输出电流范围内保持高效率。
4. 功能描述
- 自动相位控制:根据负载电流自动调整活动相位数,以优化效率。
- 软启动:限制启动时的输入浪涌电流,并控制输出电压的上升斜率。
- 负载电流测量:无需外部电流感应电阻,即可进行负载电流测量。
- 电源良好信号:提供可编程的电源良好信号,用于指示输出电压是否稳定。
- GPIO功能:EN1、EN2、EN3引脚可配置为GPIO信号,支持输入输出功能。
5. 应用
6. 封装与尺寸
- 封装类型:26引脚VQFN-HR封装,带热垫。
- 尺寸:4.50mm × 4.00mm。
7. 布局与接地
- 推荐使用低电感、低串联电阻的陶瓷电容器,并正确接地以减少噪声。
- 输入和输出滤波电容器应尽可能靠近设备放置,以减少寄生电感。
- 反馈引脚应使用差分对布线,以减少噪声干扰。
8. 文档与支持
- 提供详细的数据表、应用指南、布局指南和封装材料信息。
- TI提供技术支持和社区资源,帮助用户解决设计问题。
LP87523-Q1是一款功能强大、灵活可配置的汽车级电源管理解决方案,适用于多种高性能应用。