LP8756x-Q1 器件旨在满足各种汽车电源应用中最新处理器和平台的电源管理要求。该器件包含 4 个降压 DC/DC 转换器内核,可配置为 4 相输出、3 相和 1 相输出、2 相和 2 相输出、1 个 2 相和 2 个 1 相输出,或 4 个 1 相输出。该设备由 I 控制^2^C 兼容串行接口和 BY 使能信号。
*附件:lp87564-q1.pdf
自动脉宽调制 (PWM) 到脉冲频率调制 (PFM)作(AUTO 模式)以及自动相位添加和切相功能,可在较宽的输出电流范围内最大限度地提高效率。LP8756x-Q1 支持多相输出的远程差分电压感应,以补偿稳压器输出和负载点 (POL) 之间的 IR 压降,从而提高输出电压的精度。开关时钟可以强制到 PWM 模式,也可以与外部时钟同步,以最大限度地减少干扰。
LP8756x-Q1 器件支持负载电流测量,无需添加外部电流检测电阻器。该器件还支持可编程启动和关断延迟以及同步序列以启用信号。这些序列可以包括 GPIO 信号,用于控制外部稳压器、负载开关和处理器复位。在启动和电压变化期间,该器件控制输出转换速率,以最大限度地减少输出电压过冲和浪涌电流。
特性
- 适用于汽车应用
- 符合 AEC-Q100 标准,结果如下:
- 器件温度 1 级:-40°C 至 +125°C 环境工作温度
- 器件 HBM ESD 分类 2 级
- 器件 CDM ESD 分类等级 C4B
- 输入电压:2.8 V 至 5.5 V
- 输出电压:0.6 V 至 3.36 V
- 4 个高效降压型 DC/DC 转换器内核:
- 最大输出电流:16 A(每相 4 A)
- 可编程输出电压转换速率:0.5 mV/μs 至 10 mV/μs
- 开关频率: 2 MHz
- 扩频模式和相位交错
- 可配置的通用 I/O (GPIO)
- 我^2^C 兼容接口,支持标准 (100 kHz)、快速 (400 kHz)、快速+ (1 MHz) 和高速 (3.4 MHz) 模式
- 具有可编程掩码的中断功能
- 可编程电源正常信号 (PGOOD)
- 输出短路和过载保护
- 超温警告和保护
- 过压保护 (OVP) 和欠压锁定 (UVLO)
参数

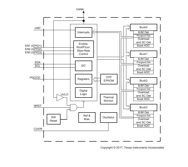
方框图

1. 概述
LP87564-Q1是一款专为汽车应用设计的高效率、高性能四相降压DC/DC转换器。该器件集成了四个降压转换器核心,每个核心能够单独或并联工作,以提供高达16A的总输出电流(每相最大4A)。LP87564-Q1通过AEC-Q100认证,适用于汽车信息娱乐系统、仪表盘、雷达和摄像头电源等应用。
2. 主要特性
- 输入电压范围:2.8V至5.5V
- 输出电压范围:0.6V至3.36V,可编程
- 最大输出电流:每相4A,总计16A
- 多相操作:支持四相单输出、三相单输出、双相双输出等多种配置
- 高效能:采用自动PWM/PFM模式切换和相位增减技术,优化效率
- 保护功能:包括输出过流保护、短路保护、过温保护、输入过压保护和欠压锁定(UVLO)
- 可编程特性:支持输出电压调节、软启动、相位控制、时钟同步等可编程特性
- I²C接口:支持标准(100kHz)、快速(400kHz)、快速+(1MHz)和高速(3.4MHz)模式
- 远程电压感应:支持多相输出的远程差分电压感应,补偿IR压降
3. 应用
- 汽车信息娱乐系统电源
- 汽车仪表盘电源
- 汽车雷达系统电源
- 汽车摄像头模块电源
4. 功能描述
- 多相DC/DC转换器:四个降压转换器核心,可灵活配置为多种输出模式。
- 自动PWM/PFM模式:根据负载电流自动切换工作模式,以优化效率。
- 相位控制:支持自动相位增减,以适应不同负载条件。
- 时钟同步:支持外部时钟同步,减少干扰。
- 软启动:限制启动时的浪涌电流,保护电源和负载。
- 电源良好信号(PGOOD) :提供可编程的电源良好信号,用于指示输出电压状态。
- 保护功能:包括输出过流保护、短路保护、过温保护等,确保器件安全运行。
5. 封装与订购信息
- 封装类型:26引脚VQFN-HR封装,尺寸为4.5mm×4.0mm
- 环境温度范围:-40°C至+125°C