LP8756x-Q1 器件旨在满足各种汽车电源应用中最新处理器和平台的电源管理要求。该器件包含 4 个降压 DC/DC 转换器内核,可配置为 4 相输出、3 相和 1 相输出、2 相和 2 相输出、1 个 2 相和 2 个 1 相输出,或 4 个 1 相输出。该设备由 I 控制^2^C 兼容串行接口和 BY 使能信号。
*附件:lp87565-q1.pdf
自动脉宽调制 (PWM) 到脉冲频率调制 (PFM)作(AUTO 模式)以及自动相位添加和切相功能,可在较宽的输出电流范围内最大限度地提高效率。LP8756x-Q1 支持多相输出的远程差分电压感应,以补偿稳压器输出和负载点 (POL) 之间的 IR 压降,从而提高输出电压的精度。开关时钟可以强制到 PWM 模式,也可以与外部时钟同步,以最大限度地减少干扰。
LP8756x-Q1 器件支持负载电流测量,无需添加外部电流检测电阻器。该器件还支持可编程启动和关断延迟以及同步序列以启用信号。这些序列可以包括 GPIO 信号,用于控制外部稳压器、负载开关和处理器复位。在启动和电压变化期间,该器件控制输出转换速率,以最大限度地减少输出电压过冲和浪涌电流。
特性
- 适用于汽车应用
- 符合 AEC-Q100 标准,结果如下:
- 器件温度 1 级:-40°C 至 +125°C 环境工作温度
- 器件 HBM ESD 分类 2 级
- 器件 CDM ESD 分类等级 C4B
- 输入电压:2.8 V 至 5.5 V
- 输出电压:0.6 V 至 3.36 V
- 4 个高效降压型 DC/DC 转换器内核:
- 最大输出电流:16 A(每相 4 A)
- 可编程输出电压转换速率:0.5 mV/μs 至 10 mV/μs
- 开关频率: 2 MHz
- 扩频模式和相位交错
- 可配置的通用 I/O (GPIO)
- 我^2^C 兼容接口,支持标准 (100 kHz)、快速 (400 kHz)、快速+ (1 MHz) 和高速 (3.4 MHz) 模式
- 具有可编程掩码的中断功能
- 可编程电源正常信号 (PGOOD)
- 输出短路和过载保护
- 超温警告和保护
- 过压保护 (OVP) 和欠压锁定 (UVLO)
参数

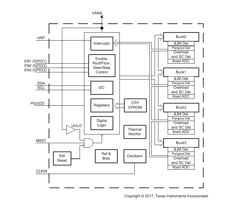
方框图

1. 概述
LP87565-Q1 是一款高性能、高效率的多相降压 DC/DC 转换器,专为满足汽车应用中最新处理器和平台的电源管理需求而设计。该设备集成了四个降压转换器核心,支持多种配置模式,包括单四相输出、三相和单相输出、双相和两个单相输出、以及四个单相输出。
2. 主要特性
- 多相降压转换器:四个降压转换器核心,每个核心最大输出电流 4A(相位),总最大输出电流 16A。
- 自动 PWM/PFM 模式:根据负载情况自动切换 PWM 和 PFM 模式,优化效率。
- 远程电压感测:支持多相输出的远程差分电压感测,补偿调节器输出与负载点(POL)之间的 IR 压降,提高输出电压准确性。
- 同步时钟功能:支持外部时钟同步,减少干扰。
- 可编程启动和关机延迟:包括 GPO 信号与使能信号同步。
- 保护功能:包括过温警告、热关机、输入过压保护、输出过压保护、欠压锁定、短路保护和过载保护。
3. 电气特性
- 输入电压范围:2.8V 至 5.5V。
- 输出电压范围:0.6V 至 3.36V,步长可调。
- 效率:在宽输出电流范围内保持高效率,特别是在 PWM 模式下。
- 热警告和关机温度:热警告温度可调(125°C 或 137°C),热关机温度约为 150°C。
4. 功能描述
- 多相操作:支持多达四相操作,可配置为单四相、三相和单相、双相和两个单相、或四个单相输出。
- 相位添加和去除:根据负载情况自动添加或去除相位,以优化效率。
- 软启动:防止启动时的浪涌电流。
- 输入电压保护:包括欠压锁定和过压保护。
- 输出电压监测和保护:包括过压监测、欠压监测和过载保护。
- 热管理:包括热警告和热关机功能。
5. 应用
- 汽车信息娱乐系统
- 汽车仪表集群
- 雷达系统
- 摄像头电源应用
6. 封装与尺寸
- 封装类型:VQFN-HR(26 引脚),带热垫。
- 尺寸:4.50mm × 4.00mm。
7. 布局与接地
- 输入电容:每个转换器相位需要 10μF 的陶瓷输入旁路电容,靠近 VIN_Bx 引脚和 PGND_Bx 引脚放置。
- 输出电容:每个相位需要至少 22μF 的陶瓷输出电容,使用 X7R 或 X7T 类型,考虑 DC 偏置电压特性。
- 接地:良好的接地设计对于减少噪声和确保性能至关重要。
8. 编程与接口
- I2C 接口:通过 I2C 接口访问可编程功能和寄存器。
- 寄存器映射:提供详细的寄存器映射和说明,包括控制寄存器、状态寄存器等。