LP8752x-Q1 器件旨在满足各种汽车电源应用中最新处理器和平台的电源管理要求。该器件包含 4 个降压 DC/DC 转换器内核,可配置为 4 相输出、3 相和 1 相输出、2 相和 2 相输出、1 个 2 相和 2 个 1 相输出,或 4 个 1 相输出。该设备由 I 控制^2^C 兼容串行接口和 BY 使能信号。
自动脉宽调制 (PWM) 到脉冲频率调制 (PFM)作(AUTO 模式)以及自动相位添加和切相功能,可在较宽的输出电流范围内最大限度地提高效率。LP8752x-Q1 支持多相输出的远程差分电压感应,以补偿稳压器输出和负载点 (POL) 之间的 IR 压降,从而提高输出电压的精度。开关时钟可以强制到 PWM 模式,也可以与外部时钟同步,以最大限度地减少干扰。
*附件:lp87524-q1.pdf
LP8752x-Q1 器件支持负载电流测量,无需添加外部电流检测电阻器。该器件还支持可编程启动和关断延迟以及同步序列以启用信号。这些序列可以包括 GPIO 信号,用于控制外部稳压器、负载开关和处理器复位。在启动和电压变化期间,该器件控制输出转换速率,以最大限度地减少输出电压过冲和浪涌电流。
特性
- 适用于汽车应用
- 符合 AEC-Q100 标准,结果如下:
- 器件温度 1 级:-40°C 至 +125°C 环境工作温度
- 器件 HBM ESD 分类 2 级
- 器件 CDM ESD 分类等级 C4B
- 输入电压:2.8 V 至 5.5 V
- 输出电压:0.6 V 至 3.36 V
- 4 个高效降压型 DC/DC 转换器内核:
- 开关频率: 2 MHz
- 扩频模式和相位交错
- 可配置的通用 I/O (GPIO)
- 我^2^C 兼容接口,支持标准 (100 kHz)、快速 (400 kHz)、快速+ (1 MHz) 和高速 (3.4 MHz) 模式
- 具有可编程掩码的中断功能
- 可编程电源正常信号 (PGOOD)
- 输出短路和过载保护
- 超温警告和保护
- 过压保护 (OVP) 和欠压锁定 (UVLO)
参数

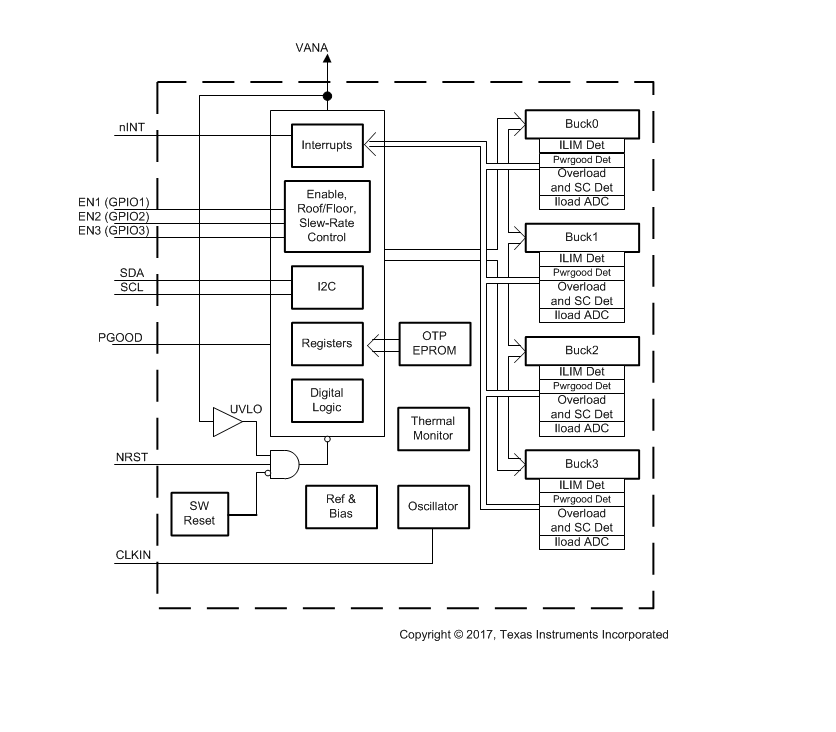
方框图

1. 产品概述
- 产品系列:LP8752x-Q1系列
- 类型:高性能、高效率的降压DC/DC转换器
- 应用领域:汽车应用中的最新处理器和平台
- 核心数量:集成四个步降DC/DC转换器核心
- 最大输出电流:每个核心最大10A,总输出电流高达40A
- 特点:自动PWM/PFM模式切换,支持远程差分电压感应,可编程启动和关闭
2. 电气特性
- 输入电压范围:2.8V至5.5V
- 输出电压范围:0.6V至3.36V,可编程,分辨率高达20mV
- 开关频率:最高可达2MHz
- 效率:在宽输出电流范围内优化效率
- 保护功能:包括过流保护、热关断、过压保护等
3. 功能特性
- 多相位输出:可配置为四个单相位输出
- 同步整流:提高转换效率
- 软启动:减少启动时的浪涌电流
- 可编程特性:包括输出电压、软启动时间、使能/禁用延迟等
- 电源良好(PGOOD)信号:用于指示输出电压是否达到稳定状态
- GPIO功能:支持多达三个GPIO信号,可配置为输入、输出或中断
4. 封装与尺寸
- 封装类型:VQFN-HR(26引脚),带热焊盘
- 尺寸:4.50mm x 4.00mm(体尺寸),高度根据具体封装类型而定
5. 热特性
- 热阻:提供了结到环境(θJA)、结到壳(顶)(θJC(顶))和结到板(θJB)的热阻参数
- 工作温度范围:-40°C至+125°C
6. 应用与实现
- 典型应用:提供了四个单相位输出的典型应用电路图
- 设计要求:包括电感选择、输入/输出电容选择、布局布线指南等
- 应用曲线:提供了不同配置和条件下的效率、输出电压等关键参数的曲线图
7. 编程与接口
- I²C接口:支持标准模式(100kHz)、快速模式(400kHz)、快速模式+(1MHz)和高速模式(3.4MHz)
- 寄存器映射:提供了详细的寄存器地址、位字段描述和默认值
- 编程指南:如何通过I²C接口配置设备的工作模式和参数
8. 设备支持与设计资源
- 文档支持:包括数据手册、用户指南、相关链接等
- 社区资源:提供TI E2E™支持论坛链接,方便工程师获取快速、经验验证的答案和设计帮助
9. 订购信息与包装
- 订购信息:提供了不同封装选项和数量的订购代码
- 包装类型:包括卷带和托盘包装,具体选项取决于订购代码
LP87524-Q1是一款专为汽车应用设计的高性能、高效率降压DC/DC转换器,通过集成四个可配置的步降DC/DC转换器核心,提供灵活且可靠的电源管理解决方案。