时间:2025-05-19 09:42
人气:
作者:admin
OPA454器件是一种低成本运算放大器,具有高电压(100 V)和相对较高的电流驱动(50 mA)。它的单位增益稳定,增益带宽积为2.5 MHz。
数据手册:*附件:OPA454 高电压 (100V) 高电流 (50mA) 运算放大器,g=1稳定技术手册.pdf
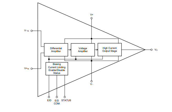
OPA454具有内部保护功能,可防止过热和电流过载。它完全指定在±5 V至±50 V的宽电源范围内或在10 V至100 V的单电源上运行。状态标志是一个开漏输出,使其易于参考标准低压逻辑电路。这种高压运算放大器具有出色的精度、宽输出摆幅,并且没有类似放大器中常见的反相问题。
使用启用或禁用引脚可以独立禁用输出,该引脚有自己的公共返回引脚,可以轻松连接到低压逻辑电路。这种禁用是在不干扰输入信号路径的情况下完成的,不仅节省了电力,还保护了负载。
OPA454采用小型外露金属焊盘封装,在-40°C至+85°C的扩展工业温度范围内易于散热。
特征
•宽电源范围:
±5 V(10 V)至±50 V(100 V)
•高输出负载驱动:IO>±50mA
•宽输出电压摆动:1 V至轨道
•独立输出禁用或关闭
•宽温度范围:-40°C至+85°C
•8针SO封装
引脚功能和配置
典型特性
功能方框图
应用
•测试设备
•雪崩光电二极管:
高V电流检测
•压电电池
•传感器驱动器
•伺服驱动器
•音频放大器
•高压合规电流源
•通用高压稳压器和电源
龙腾半导体SGT MOSFET LSGT085R018在智慧农业无