时间:2025-04-20 15:54
人气:
作者:admin
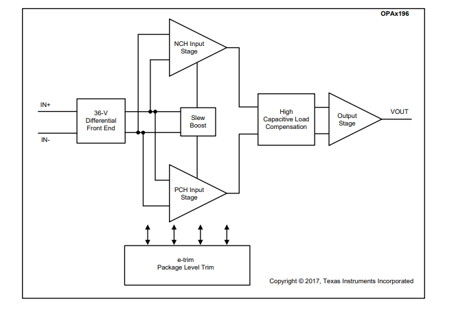
OPAx196 系列(OPA196、OPA2196 和 OPA4196)是新一代 36V 轨至轨 e-trim™运算放大器。
数据手册:*附件:OPA4196 具有多路复用器友好型输入的、四路、36V、低功耗通用放大器技术手册.pdf
这些器件在整个输出范围内提供非常低的偏移电压(典型值为 ±25µV)、漂移(典型值为 ±0.5µV/°C)和低偏置电流(典型值为 ±5pA),同时还具有非常低的静态电流(典型值为 140µA/通道)。
OPAx196 拥有诸多独一无二的特性,例如可提供电源轨的差分输入电压范围、高输出电流 (±65mA) 以及高达 1nF 的高电容负载驱动能力,是稳健耐用的高性能运算放大器,适用于各种高电压工业 应用。
OPAx196 系列运算放大器采用标准封装,在 -40°C 至 +125°C 的额定温度范围内工作。
特性
• 低偏移电压:±100µV(最大值)
• 低偏移电压漂移:±0.5µV/°C(典型值)
• 低偏置电流:±5pA(典型值)
• 高共模抑制:140dB
• 低噪声:1kHz 时为 15nV/√Hz
• 轨至轨输入和输出
• 可提供电源轨的差分输入电压范围
• 高带宽:2.5MHz GBW
• 低静态电流:每个放大器为 140µA(典型值)
• 宽电源范围:±2.25V 至 ±18V,4.5V 至 36V
• 已过滤电磁干扰 (EMI)/射频干扰 (RFI) 的输入
• 高电容负载驱动能力:1nF
• 行业标准封装:
– SOIC-8、SOT-5 和 VSSOP-8 单体封装
– SOIC-8 和 VSSOP-8 双列封装
– SOIC-14、TSSOP-14 和 QFN-16 四列封装
引脚功能和配置

典型特性
功能方框图
应用
• 多路复用数据采集系统
• 测试和测量设备
• 高分辨率模数转换器 (ADC) 驱动器放大器
• SAR ADC 基准缓冲器
• 模拟输入和输出模块
• 高侧和低侧电流感应
• 高精度比较器
• 医疗仪器
龙腾半导体SGT MOSFET LSGT085R018在智慧农业无