时间:2025-04-03 09:19
人气:
作者:admin
AMC3302-Q1 是一款精密的隔离放大器,针对基于分流器的电流测量进行了优化。这款完全集成的隔离式直流/直流转换器可实现器件低侧的单电源运行,使该器件成为空间受限应用的独特解决方案。增强型电容式隔离栅已通过 VDE V 0884-11 和 UL1577 认证,并支持高达 1.2kVRMS 的工作电压。
数据手册:*附件:AMC3302-Q1 具有内部时钟的汽车类、±50mV输入、精密电流检测增强型隔离式放大器技术手册.pdf
该隔离栅可将系统中以不同共模电压电平运行的各器件隔开,并保护电压较低的器件免受高电压冲击。
AMC3302-Q1 的输入针对直接连接低阻抗分流电阻器或另一个具有低信号电平的低阻抗电压源的情况进行了优化。出色的直流精度和低温漂支持在 –40°C 至 +125°C 的温度范围内进行精确的电流测量。
AMC3302-Q1 的集成直流/直流转换器故障检测和诊断输出引脚可简化系统级设计和诊断。
特性
• 符合面向汽车应用的 AEC-Q100 标准:
– 温度等级 1:–40°C 至 +125°C,TA
• 3.3V 或 5V 单电源,具有集成直流/直流转换器
• ±50mV 输入电压范围,针对使用分流电阻器测量电
流进行了优化
• 固定增益:41
• 低直流误差:
– 失调电压:±50µV(最大值)
– 温漂:±0.5µV/°C(最大值)
– 增益误差:±0.2%(最大值)
– 增益误差漂移:±35ppm/°C(最大值)
– 非线性度:±0.03%(最大值)
• 高 CMTI:95 kV/µs(最小值)
• 系统级诊断功能
• 符合 CISPR-11 和 CISPR-25 EMI 标准
• 安全相关认证:
– 符合 DIN VDE V 0884-11 标准的
6000V1PK2 增强型隔离
– 符合 UL1577 标准且长达 1 分钟的
4250V1RMS2 隔离
引脚配置和功能
时序图
典型特性
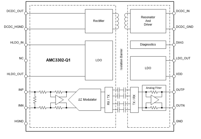
功能模块图
特性说明
AMC3302-Q1 使用开关键控 (OOK) 调制方案(如图 7-1 所示),跨过基于 SiO2 的电容隔离栅来传输调制器输出比特流。功能模块图 中所示的发送驱动器 (TX) 跨过隔离栅发送一个内部生成的高频载波来表示数字一,不发送信号则指示数字零。AMC3302-Q1 内使用的载波标称频率为 480MHz。
隔离栅另一侧的接收器 (RX) 恢复和解调信号并产生输出。AMC3302-Q1 传输 (TX) 通道经过优化,可实现超高的共模瞬态抗扰度 (CMTI) 和超小的辐射发射(高频载波和 RX/TX 缓冲器开关所致)。
应用
• 基于分流电阻器的电流感应,可用于:
– HEV/EV 充电桩
– HEV/EV 车载充电器 (OBC)
– HEV/EV 直流/直流转换器
– HEV/EV 牵引逆变器
典型应用
AMC3302-Q1 非常适合在高共模电压的情况下需要精确电流监控的基于分流器的电流感测应用。AMC3302-Q1 为高压侧集成了一个隔离电源,因此该器件特别适合用于没有现成高侧电源的应用,或高侧电源不以待测量信号接地电位为基准的应用。
图 8-1 展示了使用 AMC3302-Q1 测量板载充电器 (OBC) PFC 级输出电流的简化原理图。在系统中的这个位置,没有现成的电源可用于为隔离放大器的高侧供电。集成隔离式电源解决了这个问题,再加上其双极输入电压范围,使 AMC3302-Q1 非常适合双向电流感测。在此示例中,交流线路电压由电网侧的 AMC3330-Q1 进行感测,
电网侧也没有合适的电源为隔离放大器的高侧供电。AMC3330-Q1 的集成电源、高输入阻抗和双极性输入电压范围使其非常适合交流电压感测应用。
龙腾半导体SGT MOSFET LSGT085R018在智慧农业无