时间:2025-03-18 10:48
人气:
作者:admin
TSD5402-Q1 是一款 D 类传感器驱动放大器,非常适合用于汽车和工业应用,包括但不限于:基于旋转变压器的电机控制、制动系统、电动助力转向、伺服系统和飞行控制面板。该器件具有宽工作电压范围和出色的效率,因此非常适合需要设计灵活性的应用。集成的负载突降保护能够缩减外部电压钳位电路的成本与尺寸,板载负载诊断功能能够通过 I2C 报告负载状态。集成的负载短路和负载开路诊断功能使系统无需外部实现。
数据手册:*附件:TSD5402-Q1 具有集成保护和I2C诊断功能的汽车级D类传感器驱动器放大器技术手册.pdf
特性
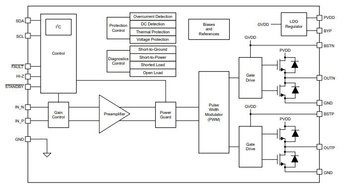
引脚配置和功能
功能方框图
应用
• 基于旋转变压器的汽车和工业应用
• HEV/EV 逆变器和电机控制
• 电动助力转向 (EPS)
• 后视镜模块
• 汽车电子视镜
• 伺服驱动器功率级模块
• 飞行控制系统
典型应用
该器件是一款用于驱动 D 类放大器的高效传感器。该器件通常用于放大信号输入以驱动传感器。该器件用于桥接负载 (BTL) 应用,而不支持单端配置。本节介绍了如何在应用中使用该器件,包括需要哪些外部元件以及如何连接未使用的引脚。
龙腾半导体SGT MOSFET LSGT085R018在智慧农业无