时间:2025-03-24 10:46
人气:
作者:admin
单通道 OPA328 和双通道 OPA2328 (OPAx328) 是针对极低噪声和宽带宽进行了优化的新一代精密低电压 CMOS 运算放大器系列。
数据手册:*附件:OPA328 精密、零交叉、50μV失调电压、40MHz宽带宽RRIO CMOS运算放大器技术手册.pdf
OPAx328 具有零交叉失真的线性输入级,能够在整个输入范围内提供 120dB(典型值)的出色共模抑制比 (CMRR)。输入共模电压范围在正负电源轨基础上向外扩展了 100mV。输出电压摆幅通常在电源轨的 10mV 以内。
OPAx328 还使用德州仪器 (TI) 专有的 e‑trim™ 运算放大器技术,实现了超低失调电压和低输入失调电压漂移的独特组合,无需任何输入切换或自动归零技术。
低噪声 (6.1nV/√Hz) 和高速运行特性(40MHz,30V/µs)使这些器件非常适合驱动采样模数转换器 (ADC)。
OPAx328 也是高阻抗输入单电源应用的理想选择。低输入偏置电流和低输入电容允许在低光电流操作 (< 1nA) 下实现高频跨阻增益。
特性
• 零交越失真时的精度:
– 低失调电压:50µV(最大值)
– 高 CMRR:120dB
– 轨到轨 I/O
• 高带宽:40MHz
• 低输入偏置电流:1pA(最大值)
• 低噪声:10kHz 时为 6.1nV/√Hz
• 压摆率:30V/µs
• 0.01% 快速稳定时间:180ns
• 单电源电压范围:2.2V 至 5.5V
• 单位增益稳定
引脚配置和功能
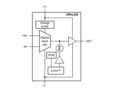
典型特性
功能方框图
应用
• 光学模块
• 位置传感器
• 多参数患者监护仪
• CT 和 PET 扫描仪
• 化学和气体分析仪
• 双向 400V 和 800V 至 LV
• 商用网络和服务器 PSU
• 串式逆变器
• 太阳能电源优化器
典型应用
此单电源低侧双向电流检测设计示例可检测从 –1A 到 +1A 的负载电流。单端输出范围为 110mV 到 3.19V。该设计使用具有低失调电压和轨到轨输入和输出的 OPAx328。其中一个放大器配置为差分放大器,另一个放大器提供基准电压。图 7-2 展示了原理图。
龙腾半导体SGT MOSFET LSGT085R018在智慧农业无