时间:2023-09-26 10:00
人气:
作者:admin
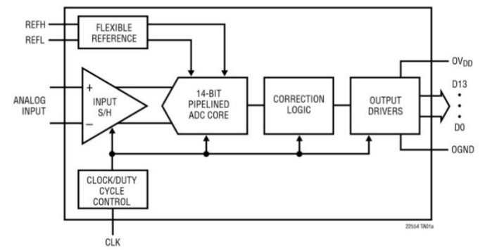
数据采集技术是利用传感器、信号测量与处理、微型计算机等技术来采集、存储、处理以及控制等作业,具有很强的实用性,本文主要介绍的是便捷式高速数据采集系统设计,采集前端包括2路高速高精度模数信号转换,根据采集前端的设计要求,在设计中采用流水线型的ADC,最符合前端的设计要求。
本文推荐使用14位有效位数的,转换速率为10Msps的高速高精度AD转换芯片科技GAD2245。系统硬件结构中,采集前端利用FPGA并行处理数据特性以及高速低时延的特性,将传出来的数据在触摸屏上显示出来。

GAD2245是一款低功耗3V单电源供电的模数转换器,支持低功耗运行,非常适用于数字化高频、宽动态范围信号,另外GAD2245还非常适合要求高的成像和通信应用,它的交流性能包括73dB的信噪比(SNR)和88dB的奈奎斯特域的无杂散动态范围(SFDR)。直流性能包括±1LSB INL(典型值)、±0.5LSB DNL(典型值)和全温度范围无丢失码。
GAD2245模数转换器的转换噪声低至1.3LSBRMS,独立输出电源支持输出驱动0.5V至3.3V逻辑。单端CLK输入控制转换器操作。一个可选的时钟占空比稳定器允许在全速范围内的时钟占空比高性能运行。
GAD2245主要性能:
•3V模拟电源供电,3V数字电源供电
•灵活输入范围:1V P-P to 2V P-P
•0.5V至3.3V输出电源
•低功耗:60mW (10MSPS)
•10MHz采样,2.5MHz输入:信噪比(SNR)77dBFS,无杂散动态范围(SFDR):82dB
•微分非线性(DNL):±0.25LSB(典型值)
•输入端参考噪声:0.96LSB RMS
•片内基准电压源和采样保持电路
•QFN-32封装5mm×5mm
•替代ADI(亚德诺)的LTC2245
注:如涉及作品版权问题,请联系删除。
上一篇:CMOS模拟集成电路-比较器设计
下一篇:触摸开关电路的工作原理分析
龙腾半导体SGT MOSFET LSGT085R018在智慧农业无