时间:2023-08-30 09:36
人气:
作者:admin
起重机状态分析是一种常用的预防起重机事故的手段,它能确定起重机目前的运行状态和预估其剩余的使用寿命。
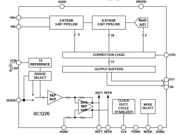
系统一般分为采集、传输和分析三大模块,采集部分负责将起重机多点的振动和应力信号采集起来转换为对应的电信号,所得电信号交由高速A/D芯片转换为数字信号,该A/D转换器推荐使用国产芯炽SC1226(替换AD9235)芯片,然后通过调理电路转换为A/D芯片所能接受的电压信号。

SC1226芯片高达80//65/40/20MSps可选的采集速率可以保证在最大不失真的情况下将模拟信号转化为与之对应的离散数字信号,因此可见非常适用于起重机状态分析系统的采集芯片。

芯炽SC1226用于起重机状态分析系统主要特点如下:
1、SC1226是一款12位80/65/40/20MSps低功耗3V电源供电的模数转换器,专为数字化高频宽动态范围信号而设计。
2、SC1226非常适合要求苛刻的成像和通信应用,其交流性能,包括80MHz采样下70.08dB信噪比和83dB无杂散动态范围,用于远远超过奈奎斯特频率的信号。
3、SC1226直流规格包括±1LSB INL(典型值),±0.3LSB DNL(典型值)和无漏失码。输入端参考噪声很低,仅为0.96LSBRMS。一个单独的输出电源使输出能驱动0.5V至3.6V逻辑电路。
4、一个单端CLK输入负责控制转换器运作。一个任选的时钟占空比稳定器在全速和多种时钟占空比条件下实现了高性能。
5、0.5V至3.3V输出电源,功耗低至218mW。
6、80MHz采样,30.5MHz输入:信噪比(SNR):70.08dBFS;无杂散动态范围(SFDR):83.48dBFS。
国芯思辰是⼀家专营国内知名品牌、国产芯⽚解决⽅案,代理(直销)国产芯⽚⽣产⼚家,可提供稳定的供货渠道,如有需求可申请试样。
注:如涉及作品版权问题,请联系删除。
上一篇:碳化硅IGBT绝缘衬底材料
下一篇:滤波器和容抗简介
龙腾半导体SGT MOSFET LSGT085R018在智慧农业无