时间:2022-01-05 16:07
人气:
作者:admin
每个电路板上都有电源芯片,不管是线性电源芯片,还是开关电源芯片,都是有损耗的。一般情况下,开关电源芯片的损耗要比线性电源芯片的损耗小的多,电源管理芯片的目的是提高效率,降低功耗以此来达到绿色环保的要求,为了发挥电子系统的最佳性能,选择最适合的电源管理芯片也变得尤为重要,骊微电子推荐一款低功耗效率高的开关电源芯片PN8368。

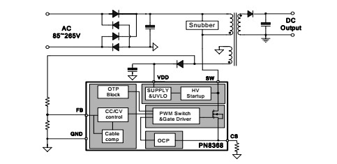
开关电源芯片PN8368是一款应用于5-12W以内AC/DC超低待机功耗准谐振原边反馈交直流转换器,内部集成超低待机功耗准谐振原边控制器及650V高雪崩能力智能功率MOSFET,恒压控制模式采用多模式控制方式,合理的兼容了芯片的高性能、高精度和高效率。在全电压交流输入范围内,采用独有的自适应补偿专利技术,输出过功率保护电具有很高的一致性,同时在通过内置的线损补偿电路保证了较高的输出电压精度。

低功耗高效率电源芯片PN8368功能特点:
1.内置650V高雪崩能力智能功率MOSFET
2.内置高压启动电路,小于30mW空载损耗(230VAC)
3.采用准谐振与多模式技术提高效率,满足6级能效标准
4.全电压输入范围±5%的CC/CV精度
5.原边反馈可省光耦和TL431
6.恒压、恒流、输出线补偿外部可调
7.无需额外补偿电容
8.无音频噪声
9.智能保护功能

低功耗高效率的开关电源方案获得广大客户认可,并成功的在市场投入使用,骊微电子本着低价格、高效率,低功率,高效应的宗旨,使客户的系统性能优异、灵活可靠,并具有成本竞争力,更多高精度低功耗电源芯片方案请搜索骊微电子咨询了解更多。
龙腾半导体SGT MOSFET LSGT085R018在智慧农业无