时间:2023-03-17 10:10
人气:
作者:admin
各类隔离器是我们在做系统设计时常常会谈及的话题,这篇文章将从以下三个方面展开介绍:
为什么需要隔离?
不同的隔离技术有什么不同?
有哪些隔离器件选型参数?
为什么需要隔离?
答案是隔离与可靠保护有关。电隔离是一种电路设计技术,允许两个电路进行通信,可消除在它们之间流动的任何不需要的直流电。
隔离常用于:
保护操作人员和低压电路免受高电压影响。
防止通信子系统之间的地电位差。
改善抗噪性能。

图1 隔离跨电介质隔离层阻止不需要的直流电和交流电
不同的隔离技术有什么不同?
绝缘技术三个要素是:绝缘材料、结构和数据传输方法。设计人员之所以引入隔离,是为了满足安全法规或者降低接地环路的噪声等。电流隔离确保数据传输不是通过电气连接或泄漏路径,从而避免安全风险。然而,隔离会带来延迟、功耗、成本和尺寸等方面的限制。数字隔离器的目标是在尽可能减小不利影响的同时满足安全要求。
我们先看看绝缘材料的影响:
表1 常见绝缘材料

此表列举了常见的绝缘材料和对应的隔离能力(Vrms/um)。光耦器件对材料透光性的要求,使得多选用空气(Air)和环氧树脂(epoxies)作为隔离材料。聚酰亚胺(polymide)多为磁隔产品选用。而容隔器件则选用绝缘强度最优的二氧化硅(SiO2)材料。
隔离材料的选用会影响到器件的体积,如下是实拍对比图,对比了TI的容隔产品ISO系列和市面上常见的光耦隔离器件,可以看到容隔器件有明显的体积优势。

同时,相较于聚酰亚胺(polymide),二氧化硅( SiO2)的可靠性不会因为在潮湿环境工作而受到影响。
我们再从电路结构来看,三种隔离方式的电路结构如下图:

图3.1 光耦器件电路

图3.2 磁隔器件电路

图3.3 容隔器件电路
我们可以看到,数字隔离器使用变压器或电容将数据以磁性方式或容性方式耦合到隔离栅的另一端,光耦合器则是使用LED发出的光。这使得光耦方案的静态电流,数据传输延迟,CMTI等性能都会较差。磁隔是通过变压器电流脉冲通过一个线圈,形成一个很小的局部磁场,从而在另一个线圈生成感应电流。电磁感应的原理使得磁隔产品在不佳的电磁工作环境中出现噪声干扰的可能性更大。而容隔产品是利用低电流电场将数据耦合到隔离栅的另一端,抗干扰性更强。
最后我们看看数据传输方式带来的影响。光耦合器使用LED发出的光将数据传输到隔离栅的另一端:LED点亮时表示逻辑高电平,熄灭时表示逻辑低电平。当LED点亮时,光耦合器需要消耗电能;对于关注功耗的应用,光耦合器不是一个好的选择。
磁隔产品常用的数据传输方式,是将上升沿和下降沿编码为双脉冲或单脉冲,以驱动变压器。这些脉冲在副边解码为上升沿或下降沿。这种方法的功耗比光耦合器低10倍到100倍,因为不像光耦合器,无需连续提供电源给器件。这也解释了为什么磁隔产品的功耗和数据速率成线性关系。
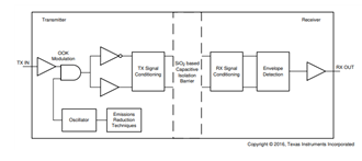
TI的容隔产品多采用on-off keying(OOK)调制方式,发送器发送一个高频信号代表一种数字状态,不发送信号代表另一种数字状态。经过信号调理后通过缓冲器发出。容隔器件的功耗基本不随传输数据速率的变化而改变。

图4 容隔器件的概念框图

图5 ON-OFF keying(OOK)调制
有哪些隔离选型参数?
这里列举了大家常在数据手册中看到的参数,做了解释。更详细的参数含义可以参考这个链接:http://www.ti.com/lit/pdf/slyy063
表2隔离器件选型常见参数

这里不一一展开,我们来重点看一下creepage,clearance和DIT(Distance Through Insulation)这三个容易混淆的距离参数的含义。如下图所示,clearance是两侧引脚通过空气的最短距离,creepage是两侧引脚通过隔离材料表面的最短距离,DTI是通过导电体之间的隔离填充材料的最短距离。可以说,DIT指的是内部距离,creepage和clearance指的是外部距离。

图6 clearance, creepage, DTI示意图(依次)
需要提醒的是,数据手册的爬电距离参数的对象芯片,如果系统中有更短通路,那么这个更短距离才是这个电路的隔离爬电距离。这里举个例子,下图将两颗超宽封装ISO7841DWW(creepage是14mm)串联工作,是否可以理解成该电路的爬电距离是28mm呢?答案是不可以。这是因为电路中除了数据传输通路还存在一个通路,即隔离电源电路。VCC1 和Viso2之间的爬电距离可能比D1和Diso2之间的爬电距离更短,而更短的距离值决定了电路的爬电距离值。

图7 爬电距离电路示例
小结:
这篇文章从三个常见问题入手:
隔离器件的用途,讨论了隔离与可靠保护有关。
主流隔离技术包括光隔、磁隔、容隔的不同点和背后的原因, 重点从绝缘材料、结构和数据传输方法进行阐述和对比。
隔离器件选型的主要参数、含义和注意事项,重点讨论了爬电距离的含义。
审核编辑:郭婷
上一篇:简述SAR ADC 的基本操作
龙腾半导体SGT MOSFET LSGT085R018在智慧农业无